EasyManua.ls Logo

Emerson ES30 - Timer Function; To Set The Turn On Time

Emerson ES30
44 pages
Print Icon
To Next Page IconTo Next Page
To Next Page IconTo Next Page
To Previous Page IconTo Previous Page
To Previous Page IconTo Previous Page
Loading...
28
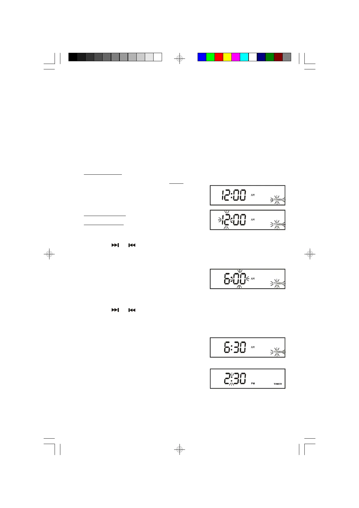
Timer Function
This system includes a programmable Timer function that will turn the system
On, play for one hour, and then shut the system Offautomatically. You can use
the timer to wake you up to the Radio or to your favorite CD. The timer can be
programmed while the system is in the Standby (Power Off) mode, the Aux mode,
Tuner mode, or the CD mode.
To Set The Turn OnTime
1.) Press and hold the TIMER/SLEEP button on the front panel or press the TIMER
button on the remote control once.
The 12:00 AM appears and the TIMER
indicator begins flashing in the display.
Press and hold the MEMORY button for at
least 3 seconds. The Hour digits begin to flash.
2.) Press the or button on the front panel or the remote control to set the
display to the desired turn Onhour, AM or PM.
3.) Press the MEMORY button. The Minute digits
begin flashing.
4.) Press the or buttons on the front panel of the main unit or the remote
control to set the display to the desired turn Onminute.
5.) Press the MEMORY button once more to enter
the turn Ontime in the memory.
After a few seconds the TIMER display stops
flashing and remains Onand the display
returns to the correct time, Tuner display, or
the CD display.
ES30_072905.p65 29/7/2005, 16:4128

Related product manuals