EasyManua.ls Logo

Emerson Fisher D4 - Page 24

Emerson Fisher D4
36 pages
Print Icon
To Next Page IconTo Next Page
To Next Page IconTo Next Page
To Previous Page IconTo Previous Page
To Previous Page IconTo Previous Page
Loading...
Instruction Manual
D103597X012
D4 Valve with easy-Drive Actuator
October 2017
24
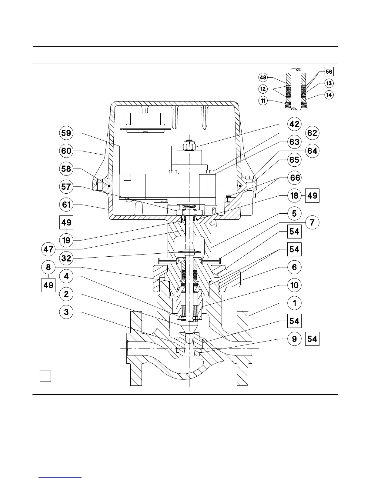
Figure 12. Fisher D4 Valve Assembly
GE49375-B
APPLY LUBRICANT

Related product manuals