EasyManua.ls Logo

Emerson LD195EMX - Informations Sur Écran

Emerson LD195EMX
162 pages
Print Icon
To Next Page IconTo Next Page
To Next Page IconTo Next Page
To Previous Page IconTo Previous Page
To Previous Page IconTo Previous Page
Loading...
18
FR
R
EGARDER LA TÉLÉVISION
Informations sur Écran
Vous pouvez affi cher sur l’écran du téléviseur la chaîne actuellement
sélectionnée ou d’autres informations, telles que le mode audio.
TV
En mode analogique, le numéro de canal actuel et le mode audio
s’affichent.
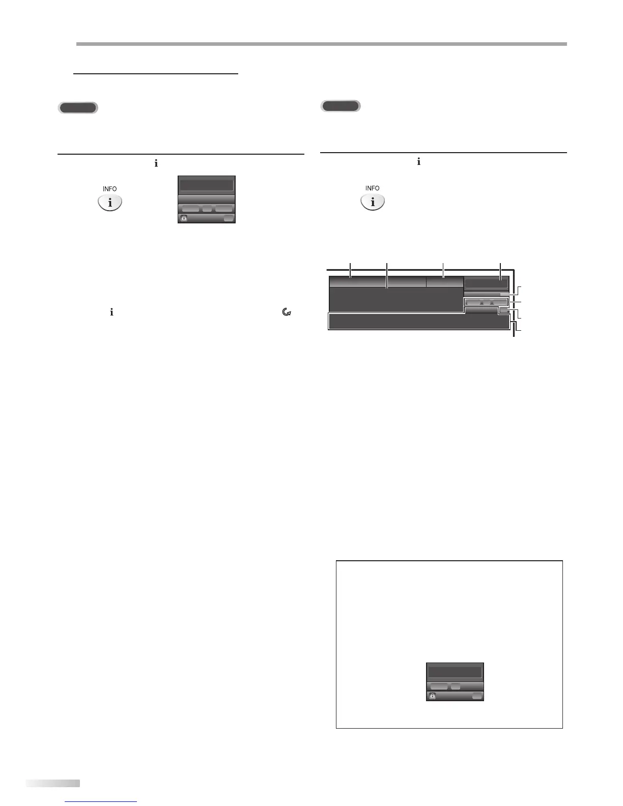
Appuyez sur [INFO ].
11
SAP / STÉRÉO
TV-PG DLSV
480i
480i
4:3
4:3
SD
SD
CC
CC
Le numéro de chaîne actuellement sélectionnée, le
mode audio, le type de résolution du signal vidéo, le
rapport de format du téléviseur, le type de sous-
titres et la cote de télévision s’affichent dans le coin
supérieur droit del’écran.
Pour effacer l’affichage, appuyez de nouveau sur
[INFO ]. Vous pouvez aussi appuyer sur [BACK ].
5
DTV
En mode numérique, les informations d’émission détaillées pour le canal actuel
telles que titre du programme ou guide des programmes sont affichées.
Appuyez sur [INFO ] pour afficher les informations du
programme actuel sélectionné.
Informations de diffusion
Les informations suivantes s’a chent.
11-1
Anglais 1/2
TV: TV-14
Cote
1080i
1080i
16:9
16:9
HD
HD
CC
CC
Un jour de souvenirs
Un jour de souvenirs
KABC
KABC
Il y a un quart de siècle, à une époque que l’on peut
qualifier de bon vieux temps de la presse écrite, les ventes
d’espace publicitaire en emplacement indéterminé
représentaient 80 pour cent des revenus de publicité de cette
1 2
34
5
6, 7, 8
9
10
1 titre d’émission
2 guide des émissions
(Le guide des émissions s’affiche en plus des
informations de diffusion. Affichage de 4 lignes
maximum.)
3 station émettrice
4 numéro de chaîne
5 langue audio
(Reportez-vous à “Changement du Mode Audio”,
page 17.)
6 nombre réel de lignes de balayage et mode de
balayage
7 format de TV numérique
8 cotes lues par la puce en V
9 CC (non disponible si le paramètre Sous-titres
codés est réglé sur “Hf”)
10 catégorie de contenu bloquée
Remarque :
Lorsque le guide des émissions comporte plus de 4 lignes,
utilisez [Curseur K/ L] pour faire défiler le texte.
Aucune description fournie.” s’affiche lorsque le guide des
émissions nest pas disponible.
Lorsque le guide des programmes est affiché, la fonction
de sous-titres est interrompue.
En mode d’entrée externe, l’écran suivant s’affiche;
ex.) Lorsqu’un appareil externe est connecté à la prise
d’entrée VIDEO.
Video
TV-PG DLSV
480i
480i
SD
SD
CC
CC
Laffichage des informations disparaît automatiquement
au bout d’une minute.

Table of Contents

Related product manuals