EasyManua.ls Logo

Emos EM400 - Page 16

Emos EM400
36 pages
Print Icon
To Next Page IconTo Next Page
To Next Page IconTo Next Page
To Previous Page IconTo Previous Page
To Previous Page IconTo Previous Page
Loading...
16
17
EM-400 0-0-0-K
Pred uporabo preverite, da naprava deluje pravilno. Izmerite tokokrog,
katerega izmerjene vrednosti že poznate.
Preden napravo priključite na tokokrog, na katerem želite izmeriti tok,
prekinite električni tok tega tokokroga.
Multimetra ne uporabljajte in ne hranite v okolju z visoko temperaturo,
prašnostjo in vlago. Hkrati ne priporočamo uporabljati naprave v okolju,
kjer se lahko pojavi magnetno polje ali kjer obstaja nevarnost eksplozije
ali požara.
• Notranje dele naprave (npr. baterije ali varovalke, ipd.) lahko vedno
zamenjate le z novimi istega tipa oz. specikacije. Zamenjajte le, kadar
je naprava izklopljena in izključena!
Ne spreminjajte in ne prilagajajte notranjega tokokroga multimetra!
Pri merjenju napetosti več kot 30 V AC rms, 42 (V) v konici oziroma 60 V DC,
ravnajte posebej previdno. Obstaja nevarnost poškodb zaradi električnega
udara!
Pri uporabi merilnih elektrod se prepričajte, da jih hranite na izoliranem
mestu.
Da boste preprečili električni udar, ne dotikajte se z roko ali kožo nobenih
golih vodnikov.
Preden odprete pokrov multimetra, izklopite merilne konice iz testiranega
tokokroga.
Ne uporabljajte naprave, če je pokrov snet oz. če je popuščen.
Baterijo zamenjamo, takoj ko se na prikazovalniku prikaže opozorilni
signal, da je baterija prazna„ “. nasprotnem primeru se lahko zgodi,
da bo nadaljnje merjenje z napravo nenatančno. Zaradi tega bi lahko
bili rezultati merjenja napačni; posledično obstaja posredna nevarnost
električnega udara.
Kategorija CAT II- kategorija merjenja II je namenjena za merjenje tokokrogov
v napravah z nizko napetostjo. Primer so merjenja na gospodinjskih aparatih,
prenosnih orodjih in podobnih napravah.
Ne uporabljajte multimetra za merjenje naprav, ki sodijo v kategorije III ali IV!
OPOZORILO
Multimeter EM400 uporabljajte le v skladu z navodili, ki so v nadaljevanju.
V nasprotnem
primeru lahko pride do poškodbe naprave same, ali do nevarnosti za zdravje.
Upoštevajte
sledeča navodila:
Še pred merjenjem upora, diod ali toka prekinemo tokokrog električne
energije in izpraznimo naprave in kondenzatorje visoke napetosti.
Še preden se lotimo merjenja se prepričamo, da je krožno stikalo za
preklop obsega, nastavljeno v pravilen položaj. Med merjenjem oz. de-
lovanjem naprave, je spreminjanje merilnega obsega (obračanje gumba
programov merjenja) prepovedano. Napravo lahko s tem poškodujete.
• Če boste merili tok, prekinite napajanje tokokroga, preden k njemu
napravo priključite.
Opis naprave
Kleščni multimeter EM400 je z iz skupine kompaktnih naprav opremljenih
s 3¾ številčnim zaslonom, Naprave so namenjene za merjenje enosmerne
in izmenične napetosti, enosmernega toka, upora in testiranja diod ter
zvočno preizkušanje prevodnosti in tokokrogov. Multimeter je opremljen s
samodejnim območjem merjenja vrednosti.
Opozarja na preseganje območja merjenja. Ima funkcijo samodejnega
izklopa.
Multimeter služi za zaščito pred preobremenitvijo in obvešča uporabnika o
nizkem stanju napolnjenosti baterij. Primerna uporaba multimetra EM400 je
npr. v delavnicah, laboratorijih in gospodinjstvu.
Tehnični parametri
Zaslon: LCD, 3999 (3¾ številke) s samodejno
indikacijo polarnosti
Metoda merjenja: dvojna padajoča integracija z A/D
prevodnikom
Hitrost branja: 3× na sekundo
Razprtje čeljusti: 33 mm
Maks. merjeni vodnik: Ø 28 mm
Delovna temperatura: 0°C do 40°C < 75 %
Skladiščna temperatura: -10°C do 50°C, relativna vlažnost < 85 %
Napajanje: 2× 1,5V AAA
Šibka baterija: indikacija s pomočjo simbola baterije na
zaslonu
Indikacija prekoračitve obsega: prikaz številke „OL“ na LCD
Kategorija merjenja: CAT II (600 V)
Dimenzije in teža: 194×71×38 mm; 205 g (skupaj z baterijo)
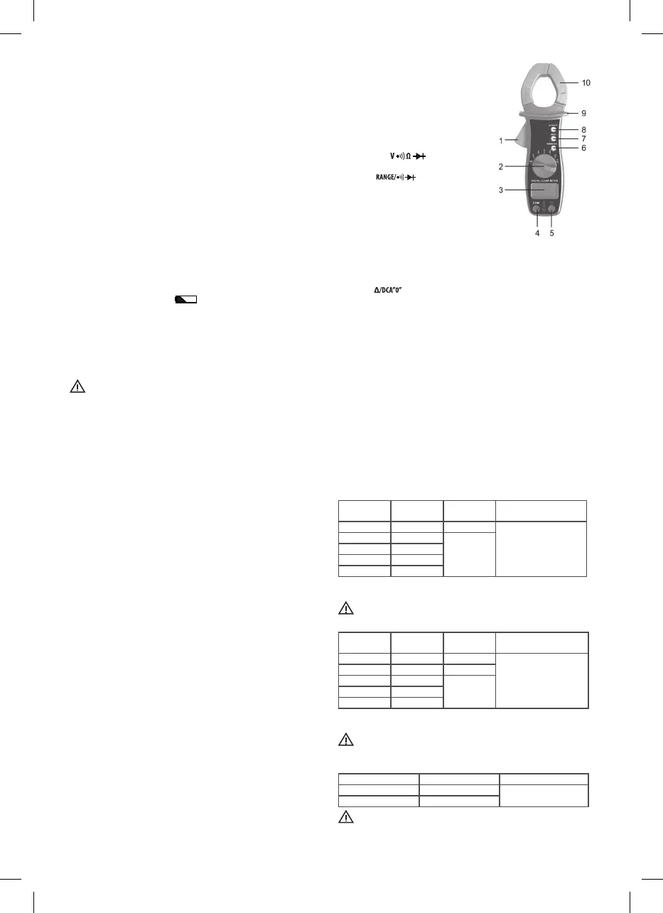
Pogled na multimeter od spredaj
1. Ročica - uporablja se za odpiranje in zapiranje čeljusti.
2. Vrtljivo stikalo - uporablja se za izbiro žele
-
ne funkcije in tudi za vklop ali izklop merilne
naprave. Če merilne naprave ne uporabljate,
nastavite vrtljivo stikalo v izklopljen položaj
OFF.
3. Zaslon - 3¾ številčni LCD zaslon z maks.
podatkom merjena 3999.
4. Priključek “COM“ - priključna sponka za črn
(negativen) testirani vodnik.
5. Priključek “ - priključna sponka
za rdeč (pozitiven) testirani vodnik.
6. Tipka
1. Pri vklopljeni funkciji merjenja upora,
toka ali napetosti se ta tipka uporablja za
preklapljanje med režimom samodejnega
območja in režimom ročnega območja in
tudi izbiro želenega ročnega območja.
2. Pri vklopljeni funkciji testiranja diode ali
prevodnosti je mogoče s pritiskom te tipke preklapljati merilno napravo
med funkcijo testiranja diode in testiranjem prevodnosti.
7. Tipka HOLD (zadržanje podatka na zaslonu) - uporablja se za vstop v
režim zadržanje podatka merjenja ali za končanje tega režima.
8. Tipka - pri funkciji merjenje enosmernega toka je mogoče to tipko
uporabiti za izbris pred začetim merjenjem. Pri ostalih funkcijah merjenja
je mogoče to tipko uporabiti za vstop v relativni režim ali za končanje tega
režima.
9. Zaščita ročaja - je namenjena za zaščito prstov pred dotikom testiranega
vodnika. Merilne naprave ne držite v mestih za to zaščito ročaja.
10. Čeljusti (tokovni pretvornik) - uporabljajo se za prijem vodnika pri
merjenju toka.
Informacija za vgrajeno brenčalo:
Pri pritisku kakršnekoli tipke se brenčalo vklopi, če je funkcija te tipke aktivna.
Preden se merilna naprava samodejno izklopi, oglasi se z nekaj kratkimi piski,
pozneje po 1 minuti se oglasi z dolgim piskom in nato se samodejno izklopi.
Natančnost merjenja
Natančnost je določena za eno leto po umerjanju in pri temperaturi 23°C ±
5°C z relativno vlažnostjo do 75 %.
Če ni izrecno določeno drugače, je natančnost določena v območju od 8
% do 100 %.
Specikacija natančnosti ima naslednjo obliko:
±([% podatki naprave]+[število najnižjih veljavnih številk])
Enosmerna napetost (DC)
Obseg Ločljivost Natančnost
Zaščita
proti preobremenitvi
400,0 mV 0,1 mV ± (0,8% + 5)
600 V ef.
4,000 V 1 mV
± (2,0% + 5)
40,00 V 10 mV
400,0 V 100 mV
600 V 1 V
Vhodna impedance: obseg 400 mV: > 100 M
ostali obsegi: 10 M
Maks. dovoljena vhodna napetost: 600 V DC
Izmenična napetost (AC)
Obseg Ločljivost Natančnost
Zaščita
proti preobremenitvi
400,0 mV 0,1 mV ± (2,0% + 5)
600 V ef.
4,000 V 1 mV ± (1,2% + 5)
40,00 V 10 mV
± (1,5% + 5)400,0 V 100 mV
600 V 1 V
Vhodna impedance: 10 M
Frekvenčni obseg: 40–400 Hz
Maks. dovoljena vhodna napetost: 600 V ef.
Odziv: povprečen, kalibriran na efektivno vrednost sinusnega poteka
Enosmerni tok (DC)
Obseg Ločljivost Natančnost
400 A 0,1 A
± (2,5% + 5)
600 A 1 A
Maks. dovoljeni vhodni tok: 600 A

Related product manuals