EasyManua.ls Logo

Emos EM400 - Technické Parametry

Emos EM400
36 pages
Print Icon
To Next Page IconTo Next Page
To Next Page IconTo Next Page
To Previous Page IconTo Previous Page
To Previous Page IconTo Previous Page
Loading...
4
5
Abyste zabránili zasažení elektrickým proudem, nedotýkejte se rukou
nebo pokožkou žádných holých vodičů.
• Než otevřete kryt multimetru, odpojte měřicí hroty od testovaného
obvodu.
Neprovádějte měření, je-li kryt multimetru odstraněn nebo je-li uvolněný.
Jakmile se na displeji objeví ikona vybité baterie„ , baterii vyměňte.
Vopačném případě mohou být následně provedená měření nepřesná.
To může vést ke zkresleným výsledkům měření a k následnému úrazu
elektrickým proudem!
CATII - kategorie měření II je určena pro měření prováděná na obvodech
připojených přímo k nízkonapěťovým zařízením. Příkladem jsou měření
na domácích spotřebičích, přenosných nářadích a podobných zařízeních.
Nepoužívejte multimetr k měření rozsahů spadajících do kategorií III a IV!
VAROVÁNÍ
Používejte multimetr EM400 pouze tak, jak je specikováno níže. Jinak může
dojít k poškození přístroje nebo Vašeho zdraví. Dbejte následujících instrukcí:
Dříve, než provedete měření odporu, diod nebo proudu, odpojte obvody
od zdrojů energie a vybijte vysokonapěťové kondenzátory.
ed měřením se přesvědčte, že je kruhový přepínač rozsahu měření ve
správné poloze. V žádném případě neprovádějte změny v měřicím rozsahu
(pootáčením kruhového přepínače programů měření) v průběhu měření!
Mohlo by dojít k poškození přístroje.
Budete-li měřit proud, vypněte napájení obvodu předtím, než k němu
multimetr připojíte.
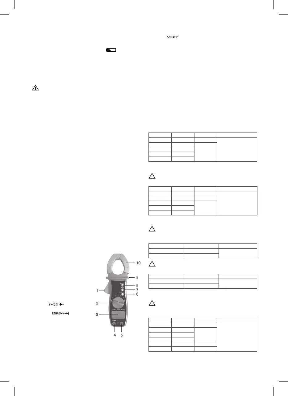
Popis přístroje
Klešťový multimetr EM400 je z řady kompaktních přístrojů s3¾ číslicovým
displejem, určených k měření stejnosměrného a střídavého napětí, stejno-
směrného proudu, odporu, testování diod a zvukové zkoušky vodivosti a
obvodů. Multimetr je vybaven automatickým rozsahem pro měření hodnot.
Indikuje překročení měřeného rozsahu. Má funkci automatického vypnutí.
Multimetr poskytuje ochranu před přetížením a informuje o nízkém stavu
baterie. Ideální použití multimetru EM400 je např. v dílnách, laboratořích a
domácnostech.
Technické parametry
Displej: LCD, 3999 (3¾ číslice) s automatickou indikací
polarity
Metoda měření: dvojitá sestupná integrace A/D převodníkem
Rychlost čtení: 3× za sekundu
Rozevření čelistí: 33 mm
Max. měřitelný vodič: Ø 28 mm
Pracovní teplota: 0°C až 40°C < 75 %
Teplota skladování: -10°C až 50°C, relativní vlhkost < 85 %
Napájení: 2× 1,5V AAA
Slabá baterie: indikace pomocí symbolu baterie na displeji
Indikace překročení rozsahu: zobrazení čísla „OL“ na LCD
Kategorie měření: CAT II (600 V)
Rozměry a hmotnost: 194×71×38 mm; 205 g (včetně baterií)
Čelní pohled na multimetr
1. Páka - používá se k otevírání a zavírání
čelistí.
2. Otočný přepínač - používá se k volbě
požadované funkce a také k zapnutí
nebo vypnutí měřicího přístroje. Když
měřicí přístroj nepoužíváte, nastavte
tento otočný přepínač do vypnuté
polohy OFF.
3. Displej - 3¾ číslicový LCD displej s max.
údajem měření 3999.
4. Svorka “COM“ - připojovací svorka pro
černý (záporný) zkušební vodič.
5. Svorka - připojovací svorka
pro červený (kladný) zkušební vodič.
6. Tlačítko -
1. Během funkce měření odporu,
proudu nebo napětí se toto tlačítko
používá k přepínání mezi režimem
automatického rozsahu a režimem
ručního rozsahu a také k výběru
požadovaného ručního rozsahu.
2. Během funkce zkoušky diody nebo průchodnosti lze stisknutím tohoto
tlačítka přepínat měřicí přístroj mezi funkcí zkoušky diody a zkoušky
průchodnosti.
7. Tlačítko HOLD (přidržení údaje na displeji) - používá se k vstupu do
režimu přidržení údaje měření nebo k ukončení tohoto režimu.
8. Tlačítko
- během funkce měření stejnosměrného proudu lze toto
tlačítko použít k vynulování před zahájením měření. Během ostatních
funkcí měření lze toto tlačítko použít k vstupu do relativního režimu nebo
k ukončení tohoto režimu.
9. Úchopová zábrana - je určena k ochraně prstů před dotykem zkoušeného
vodiče. Nedržte měřicí přístroj v místech za touto úchopovou zábranou.
10. Čelisti (snímač proudu) - používají se k obklopení vodiče při měření
proudu.
Info pro zabudovaný bzučák:
Při stisknutí jakéhokoliv tlačítka bzučák zapne, pokud je funkce tohoto
tlačítka aktivní.
Předtím, než se měřicí přístroj automaticky vypne, vydá několik krátkých
pípnutí, později po 1 minutě vydá dlouhé pípnutí a pak se automaticky vypne.
Přesnost měření
Přesnost je specikována na dobu jednoho roku po kalibraci a při teplotě
23°C ± 5°C s relativní vlhkostí do 75 %.
Pokud není jinak výslovně specikováno, přesnost je specikována v rozsahu
od 8 % do 100 %.
Specikace přesnosti mají následující tvar:
±([% údaje přístroje]+[počet nejnižších platných číslic])
Stejnosměrné napětí (DC)
Rozsah Rozlišení Přesnost Ochrana proti přetížení
400,0 mV 0,1 mV ± (0,8% + 5)
600 V ef.
4,000 V 1 mV
± (2,0% + 5)
40,00 V 10 mV
400,0 V 100 mV
600 V 1 V
Vstupní impedance: rozsah 400 mV: > 100 M
ostatní rozsahy: 10 M
Max. dovolené vstupní napětí: 600 V DC
Střídavé napětí (AC)
Rozsah Rozlišení Přesnost Ochrana proti přetížení
400,0 mV 0,1 mV ± (2,0% + 5)
600 V ef.
4,000 V 1 mV ± (1,2% + 5)
40,00 V 10 mV
± (1,5% + 5)400,0 V 100 mV
600 V 1 V
Vstupní impedance: 10 M
Frekvenční rozsah: 40–400 Hz
Max. dovolené vstupní napětí: 600 V ef.
Odezva: průměrná, kalibrována na efektivní hodnotu sinusového průběhu
Stejnosměrný proud (DC)
Rozsah Rozlišení Přesnost
400 A 0,1 A
± (2,5% + 5)
600 A 1 A
Max. dovolený vstupní proud: 600 A
Střídavý proud (AC)
Rozsah Rozlišení Přesnost
400 A 0,1 A
± (2,5% + 5)
600 A 1 A
Frekvenční rozsah: 50–60 Hz
Nepoužívejte snímač proudu nad jeho jmenovitý kmitočet max. 60 Hz.
Max. dovolený vstupní proud: 600 A
Odezva: průměrná, kalibrována na efektivní hodnotu sinusového průběhu
Odpor
Rozsah Rozlišení Přesnost Ochrana proti přetížení
400,0  100 m ± (1,2% + 7)
600 V ef.
4,000 k 1 
± (1,0% + 5)40,00 k 10 
400,0 k 100 
4,000 M 1 k ± (1,2% + 5)
40,00 M 10 k ± (1,5% + 7)

Related product manuals