EasyManua.ls Logo

Emos EM400 - Parametrii Tehnici

Emos EM400
36 pages
Print Icon
To Next Page IconTo Next Page
To Next Page IconTo Next Page
To Previous Page IconTo Previous Page
To Previous Page IconTo Previous Page
Loading...
26
27
Acordai atenie sporită la măsurarea tensiunii mai mari de 30 V AC rms,
42 Vvalori de vârf sau 60 V DC. Există pericol de electrocutare!
Dacă folosii sondele de măsurare, asigurai-vă că le apucai cu mâna în
locul indicat.
Pentru a evita electrocutarea nu atingei cu mâna sau pielea nici un
conductor neizolat.
Deconectai sondele de la circuitul vericat înaintea deschiderii carcasei
multimetrului.
Nu efectuai măsurarea dacă capacul multimetrului este îndepărtat sau
destrâns.
Înlocuii bateriile imediat ce pe ecran apare indicaia baterie descărcată
. În caz contrar se poate ajunge la situaia, când măsurarea efectuată
ulterior va  eronată. Aceasta poate duce la rezultate false și deformate
ale măsurării, având ca urmare accidente prin electrocutare.
CAT II – categoria de măsurare II este destinată măsurării circuitelor unor
aparate de joasă tensiune. Ca de exemplu consumatoare casnice, unelte
portabile și alte asemenea aparate. Nu folosii multimetrul pentru măsurarea
gamelor incluse în categoria III și IV!
AVERTIZARE
Folosii multimetrul EM400 doar cum este specicat mai jos. Altfel se poate
ajunge la deterioararea aparatului sau periclitarea sănătăii dumneavoastră.
Respectai următoarele instruciuni:
Înainte de efectuarea măsurării rezistenei, diodelor sau curentului, deco-
nectai circuitele de la sursele de energie și descărcai condensatorii de
înaltă tensiune.
Înaintea măsurării asigurai-vă că selectorul circular al gamei de măsurare
este în poziie corectă. În nici un caz nu efectuai modicări la intervalul de
măsurare (rotind selectorul circular al programelor de măsurare) în timpul
măsurării! S-ar putea provoca deteriorarea aparatului.
Dacă vei măsura curentul, oprii alimentarea circuitului înainte de conec-
tarea multimetrului.
Descierea aparatului
Multimetrul clește EM400 este din seria aparatelor compacte cu ecran
numeric de 3¾ digiti, care sunt destinate măsurării tensiunii continue și
alternative, curentului continuu, rezistenei, testării diodelor și examinării
acustice a conductibilităii și circuitelor. Multimetrul este dotat cu gama
automată de măsurare a valorilor. Indică depășirea intervalului măsurat. Are
funcia opririi automate.
Multimetrul este dotat cu protecie la suprasarcină și informează despre
nivelul scăzut al bateriei. Utilizarea ideală a multimetrului EM400 este de ex.
în ateliere, laboratoare și în gospodărie.
Parametrii tehnici
Ecran: LCD, 3999 (cifre 3¾) cu indicarea automată
apolarităii
Metoda de măsurare: integrare dublă descendentă cu convertor A/D
Viteza citirii: de 3× pe secundă
Deschizătura fălcilor: 33 mm
Conductor max. de măsurat: ø 28 mm
Temperatura de lucru: 0°C la 40°C < 75 %
Temperatura de depozitare: -10°C la 50°C, umiditate relativă < 85 %
Alimentarea: 2× 1,5V AAA
Baterie slabă: indicaie cu ajutorul simbolului bateriei pe ecran
Indicaia depășirii intervalului: așajul inscripiei „OL“ pe LCD
Categoria de măsurare: CAT II (600 V)
Diemnsiuni și greutatea: 194×71×38 mm; 205 g (inclusiv bateriile)
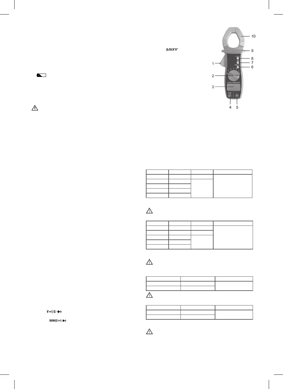
Imaginea frontală a multimetrului
1. Pârghia - servește la deschiderea și închiderea fălcilor.
2. Comutator circular - servește la selectarea funciei solicitate și la pornirea
sau oprirea aparatului de măsurat. Dacă nu folosii aparatul, reglai acest
comutator circular în poziia oprit OFF.
3. Ecran - ecran LCD numeric de 3¾ cu așarea max. 3999.
4. Borna “COM“ - borna de conectare pentru conductorul de control negru
(negativ).
5. Borna - borna de conectare pentru conductorul de control
roșu (pozitiv).
6. Butonul
1. În timpul măsurării rezistenei, curentului sau tensiunii acest buton se
folosește pentru comutarea între regimul gamei automate și regimul
gamei manuale și, de asemenea, pentru selectarea gamei manuale
solicitate.
2. În timpul funciei examinării diodei sau a testării continuităii la apăsarea
acestui buton se poate comuta aparatul de măsură între funcia de
examinare a diodei și testarea continuităii.
7. Butonul HOLD (menţinerea indicaţiilor
pe ecran) - se folosește pentru intrarea
în regimul de meninere a rezultatului
măsurării sau pentru părăsirea acestui
regim.
8. Butonul
- în timpul funciei
de măsurare a curentului continuu se
poate folosi acest buton pentru resetare
înainte de începerea măsurării. În timpul
celorlalte funcii de măsurare acest buton
se poate folosi pentru intrarea în regim
relativ sau părăsirea acestui regim.
9. Bariera de siguranţă - este destinată
proteciei degetelor împotriva atingerii
conductorului examinat. Nu inei apa-
ratul de măsurat după această barieră de
sigurană.
10. Fălci (senzorul de curent) - se folosește
pentru îmbrăișarea conductorului la
măsurarea curentului.
Info pentru buzer încorporat:
La apăsarea oricărui buton buzerul pornește, dacă funcia acestui buton
este activă.
Înainte ca aparatul să se oprească automat, emite câteva piuituri scurte, apoi,
după 1 minut, emite un piuit lung și se oprește automat.
Precizia măsurării
Precizia este specicată pe durata unui an de la calibrarea aparatului de la
23°C ± 5°C cu umiditate relativă până la 75 %. Dacă nu este în mod expres
specicat altfel, precizia este specicată în intervalul de la 8 % la 100 %.
Specicaiile preciziei au forma următoare: ±([% datele aparatului]+[numărul
cifrelor minime valabile])
Tensiune continuă (DC)
Gama Rezoluţie Precizie Protecţie la suprasarcină
400,0 mV 0,1 mV ± (0,8% + 5)
600 V ef.
4,000 V 1 mV
± (2,0% + 5)
40,00 V 10 mV
400,0 V 100 mV
600 V 1 V
Impedană de intrare: gama 400 mV: > 100 M
Alte game: 10 M
Tensiune de intrare max. admisă: 600 V DC
Tensiune alternativă (AC)
Gama Rezoluţie Precizie Protecţie la suprasarcină
400,0 mV 0,1 mV ± (2,0% + 5)
600 V ef.
4,000 V 1 mV ± (1,2% + 5)
40,00 V 10 mV
± (1,5% + 5)400,0 V 100 mV
600 V 1 V
Impedană de intrare: 10 M
Intervalul de frecvenă: 40–400 Hz
Tensiune de intrare max. admisă: 600 V ef.
Reacia: medie, calibrată la valoarea ecientă a cursului sinusoidal
Curent continuu (DC)
Gama Rezoluţie Precizie
400 A 0,1 A
± (2,5% + 5)
600 A 1 A
Curent de intrare max. admis: 600 A
Curent alternativ (AC)
Gama Rezoluţie Precizie
400 A 0,1 A
± (2,5% + 5)
600 A 1 A
Interval de frecvenă: 50–60 Hz
Nu folosii senzorul de curent peste frecvena lui nominală max. 60 Hz.
Curent de intrare max. admis: 600 A
Reacia: medie, calibrată la valoarea ecientă a cursului sinusoidal

Related product manuals