EasyManua.ls Logo

enware ECE030 - Page 5

enware ECE030
12 pages
Print Icon
To Next Page IconTo Next Page
To Next Page IconTo Next Page
To Previous Page IconTo Previous Page
To Previous Page IconTo Previous Page
Loading...
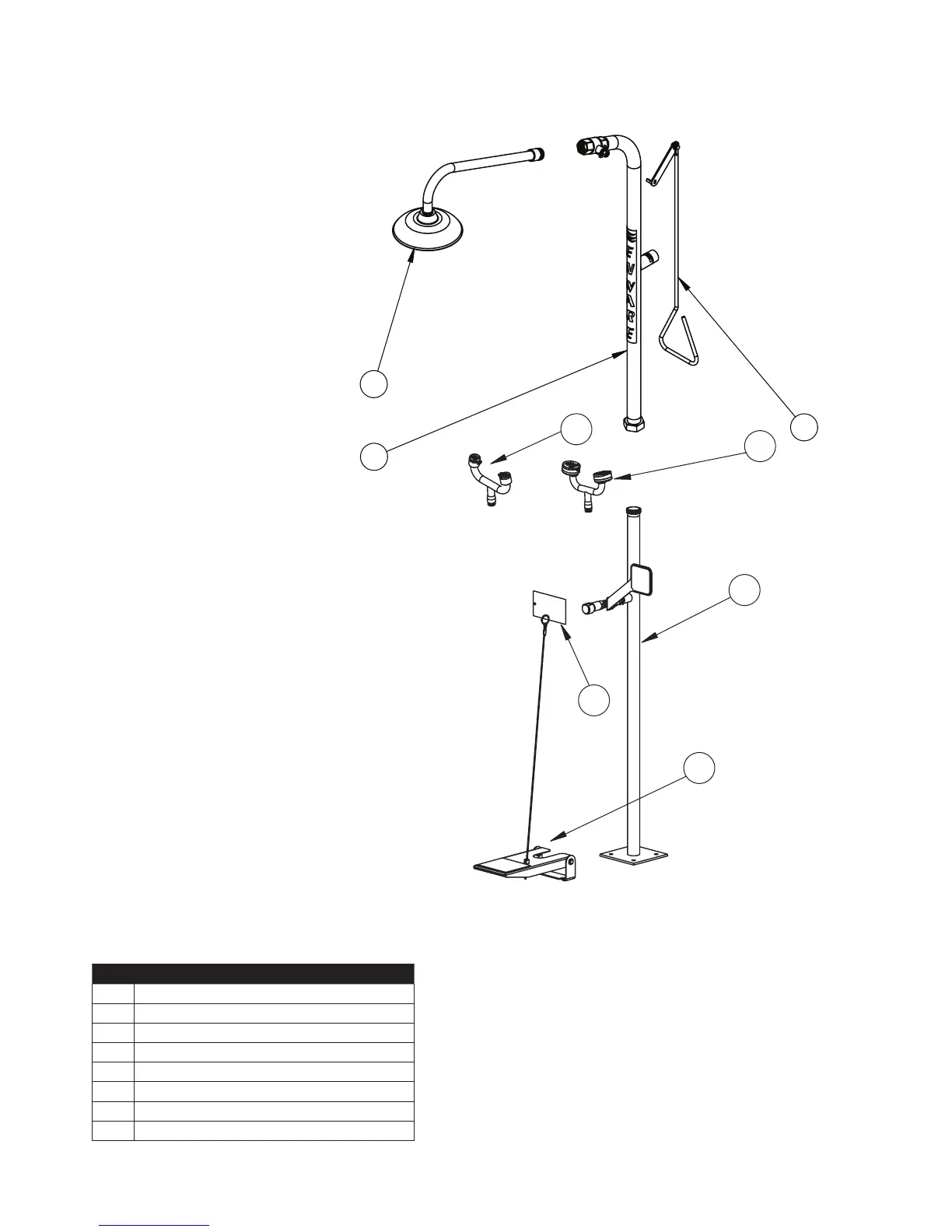
5 Call 1300 369 273 www.enware.com.au
ENBE060 ENBE090 ENBE240 ENBE270
# Descripon
1A Eye Wash Outlet Assembly
1B Eye/Face Wash Outlet Assembly
2 Upper Frame with Ball Valve
3 Base Frame with Eye Wash Control
4 Pull Handle
5 Shower Arm and Rose
6 Foot Pedal with Cable*
7 Inspection Tag
* ENBE090 and ENBE270 only
6
2
7
1B
3
1A
4
5