EasyManua.ls Logo

ESAB LAF 800 - Connection Types - Gas Metal Arc Welding (MIG;MAG)

ESAB LAF 800
Print Icon
To Next Page IconTo Next Page
To Next Page IconTo Next Page
To Previous Page IconTo Previous Page
To Previous Page IconTo Previous Page
Loading...
-- 2 3 --
dia3d1ea
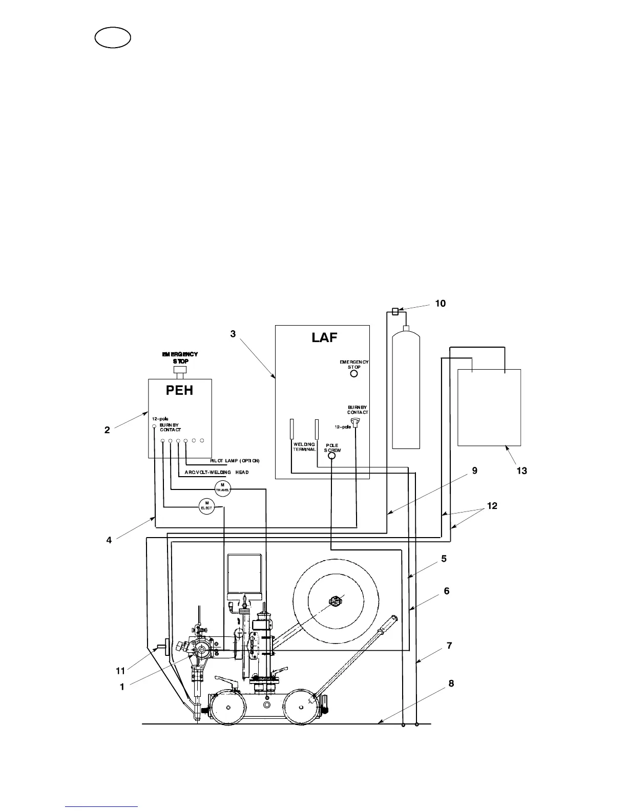
GAS METAL ARC WELDING -- MIG/MAG
S Connect control cable (4) between power source (3) and control box A2 --A6
Process Controller (PEH) (2).
S Connect return cable ( 7) between power source (3) and workpiece (8).
S Connect welding cable (6) between power source (3) and welding m achine
(1).
S Connect gas hose (9) between reducing valve (10) and gas valve (11) on the
welding machine.
S Connect the cooling water hoses (12) between cooling unit (13) and welding
machine (1).
S Connect measuring cable (5) between power source (3) and workpiece (8).
--
+
in
out
GB

Related product manuals