EasyManua.ls Logo

ESAB LAF 800 - 4.4 Installation - Connections; Connection Types - Submerged Arc Welding (SAW)

ESAB LAF 800
Print Icon
To Next Page IconTo Next Page
To Next Page IconTo Next Page
To Previous Page IconTo Previous Page
To Previous Page IconTo Previous Page
Loading...
-- 2 2 --
dia3d1ea
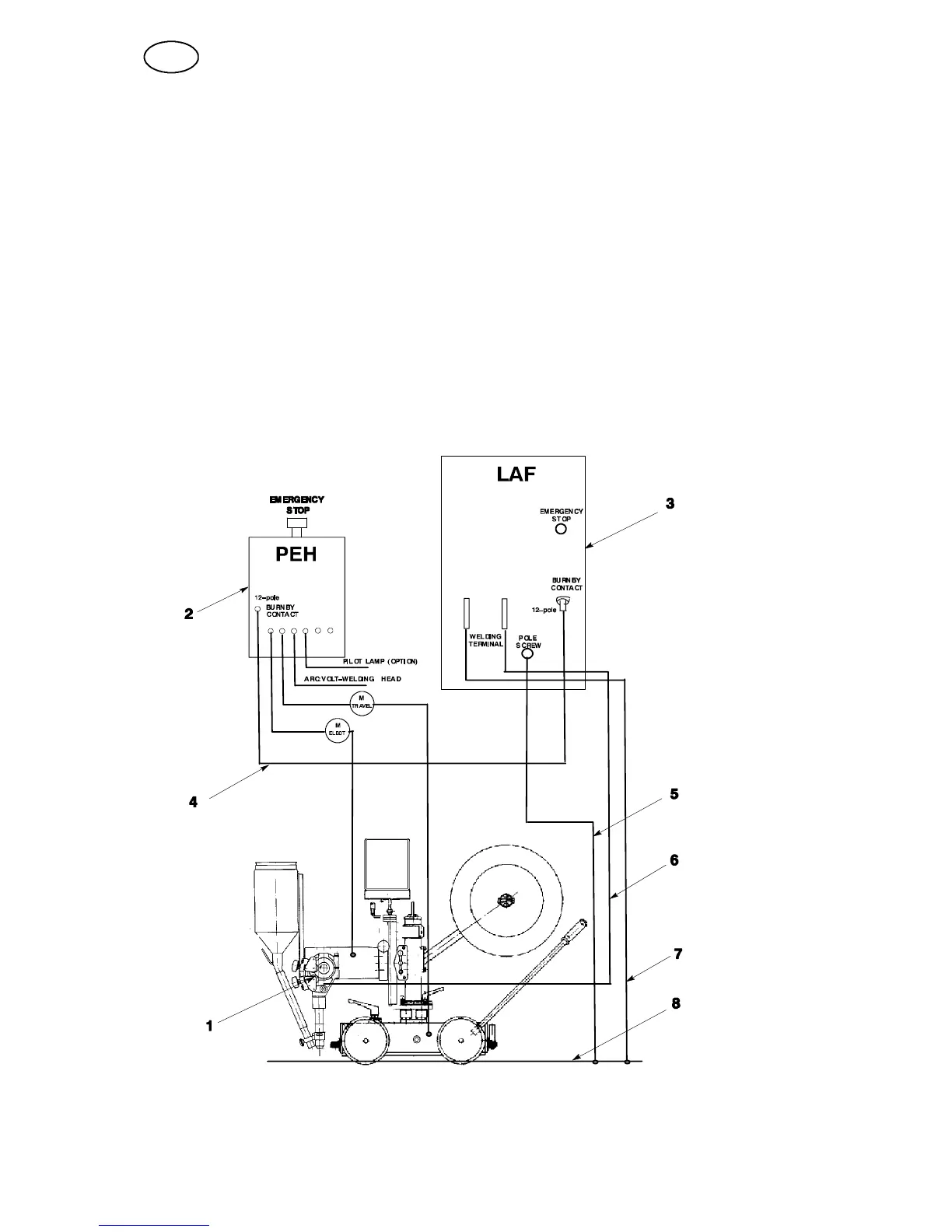
4.4 Connections
1. The connection of the control box to the automatic welding machine is to be
done according to
the A2--A6 Process Controller (PEH) instruction manual.
2. The welding machine is connected according to the following figures.
SUBMERGED ARC WELDING -- SAW
S Connect the control cable (4) between power source (3) and control box
A2--A6 Process Controller (PEH) (2).
S Connect return cable ( 7) between power source (3) and workpiece (8).
S Connect welding cable (6) between power source (3) and welding m achine
(1).
S Connect measuring cable (5) between power source (3) and workpiece (8).
--
+
GB

Related product manuals