EasyManua.ls Logo

ESAB LAF 800 - Page 7

ESAB LAF 800
Print Icon
To Next Page IconTo Next Page
To Next Page IconTo Next Page
To Previous Page IconTo Previous Page
To Previous Page IconTo Previous Page
Loading...
-- 7 --
dia3d1sa
S Ta bort (kapa) ledaren 077 mellan kortet K45.3 och strömskenan.
S Montera tillbaka endast det RC--filter som sitter i den gamla strömkällan.
S Ta bort det gamla elschemat som sitter insidan av täckplåten.
2. Följ nedanstående instruktioner vid ombyggnad av LAE 800/1000.
S Demontera befintlig kabelstam men behåll kablarna 034 och 035 för matning av
manövertransformatorn.
S Demontera samtliga elektronikkort med fastsättningsdistanser.
S Demontera m anöverpanelen.
S Ta bort bygeln vilken säkringssocklarna är fästade.
S Ta bort den nedre säkringen (K21.2=avsäkring 42 V AC från manövertransfor-
matorn K9).
De två ö vr iga säkringarna återanvänds tillsammans med underläggsbrickorna av
gummi, m en de monteras en annan plats i svetsströmkällan.
S Ta bort de två mångpoliga kontaktdonen den nedre plåten och täck hålen
med två plastpluggar ur monteringssatsen.
S Demontera skyltarna (en klisterlapp och en fastskruvad skylt, märkt 42 V) fr å n
den nedre plåten.
S Demontera plinten manövertransformatorn.
S Täck över kontaktorn och manövertransformatorn innan nya fästhål borras.
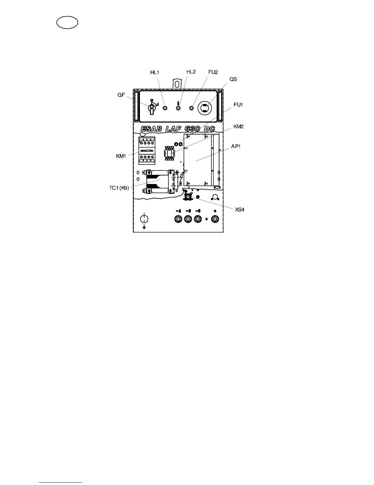
S Borra hål (enl. borrschema) för fastsättning av
-- säkringssocklarna (FU1)
-- elektronikkortet (AP1)
-- kontaktorn (KM2)
-- avkopplingskortet med det 12--poliga kontaktdonet (XS4).
S Montera ett nytt kretskort (AP1) med låda plåten. Använd isoleringsbrickor
och självgängande skruvar för fastsättningen (ingår i monteringssatsen).
SE

Related product manuals