EasyManua.ls Logo

Espressione 8212S - Page 13

Espressione 8212S
19 pages
Print Icon
To Next Page IconTo Next Page
To Next Page IconTo Next Page
To Previous Page IconTo Previous Page
To Previous Page IconTo Previous Page
Loading...
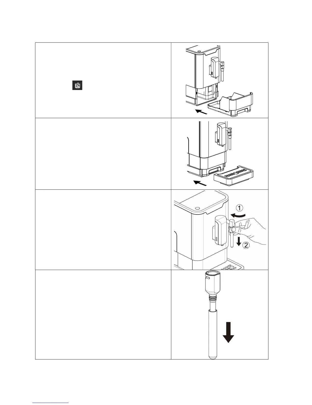
11. Place the coffee grounds container on the internal
drip tray and insert back into it original position.
Note: When
is flashing, the coffee grounds
container is missing
12. Place the external drip tray at it original position
13. Unlock the nozzle cover by turning it to left. Then
pull it downward to remove.
14. Pull the metal tube downward to ds-assembly the
nozzle cover and metal tube.

Related product manuals