EasyManua.ls Logo

EST LSS4 - Page 35

Default Icon
126 pages
Print Icon
To Next Page IconTo Next Page
To Next Page IconTo Next Page
To Previous Page IconTo Previous Page
To Previous Page IconTo Previous Page
Loading...
System
Installation
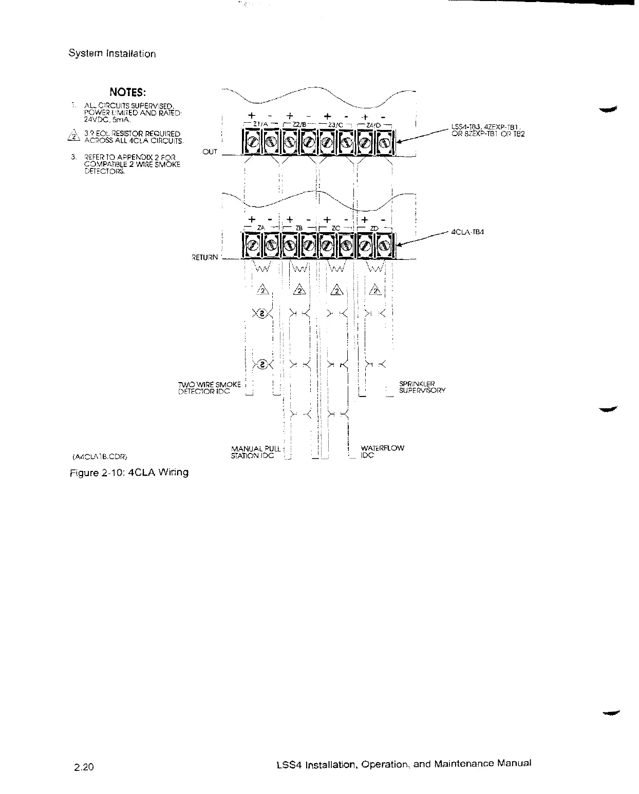
NOTES:
POWER
L'MITEDANO
'ATED
2dVDC.
5mA.
39EOL
pESISTOD
PE@UiPEO
ACROSSALL
4CLA
Clf2CUiT5
MO WI
'E
SMOKE
DET
EC7QI2IDC
Figure
2-10:
4CLA
Wiring
2 20
SPRINKLE—S'
SU
PEWISC›RY
WAJEftF£OW
IDC
dCL
-10.4
LSS4
Installation,
Operation,and
Maintenance
Manual

Related product manuals