EasyManua.ls Logo

EST LSS4 - Page 37

Default Icon
126 pages
Print Icon
To Next Page IconTo Next Page
To Next Page IconTo Next Page
To Previous Page IconTo Previous Page
To Previous Page IconTo Previous Page
Loading...
System
Installation
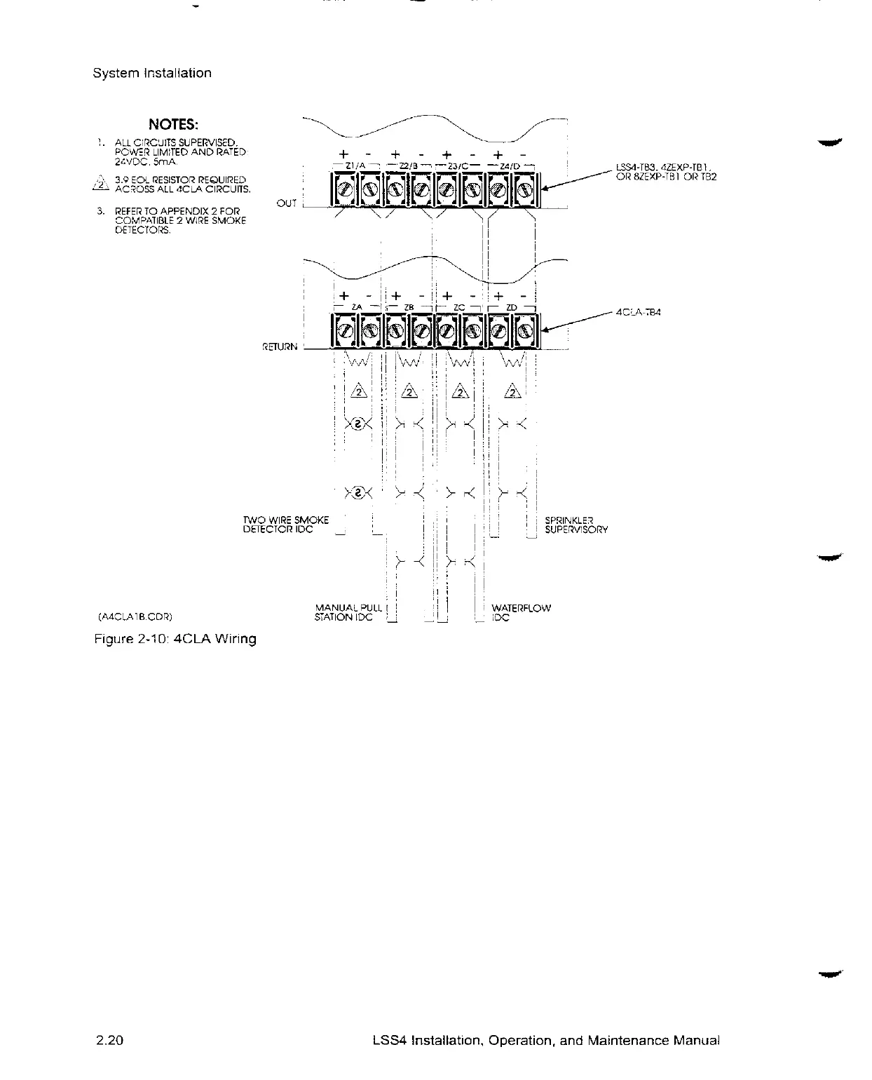
NOTES:
' ALL
C'PC
ITS
SlJPEPViSED.
PO\VE?
LiMtTEOAND
RATED
2zV0C.5mA
3.9EOLI
ESISTOR
t2E@UI0ED
AC
LOSSALL4C CIPC
UITS.
3.
REFER'TO
APPENDIX2
FOf2
COMPATIBLE2
WIRG
SMOKE
?ETUf2N
MO
Wit2E
SMOKE
DETECTORIOC
Figure
2-10:
4CLA
Wiring
220
MANUAL
PULLI
S"ATiONiOC
WATE
'FLOW
! iDC
OF
8ZEXP-TB1 OFTB2
LSB4
Installation,
Operation,and
Maintenance
Manual

Related product manuals