EasyManua.ls Logo

EUROSTER 813 - Mounting and Settings Adjustment; Internal Settings Adjustment

EUROSTER 813
12 pages
Print Icon
To Next Page IconTo Next Page
To Next Page IconTo Next Page
To Previous Page IconTo Previous Page
To Previous Page IconTo Previous Page
Loading...
EUROSTER 813 – USER MANUAL 7
Mount/Remove the unit in din-rail mountl
Align the top of the back plastic housing with the
top of the Din-rail. Push down the retractor and
mount.
Push down the retractor to remove the unit off the
din-rail.
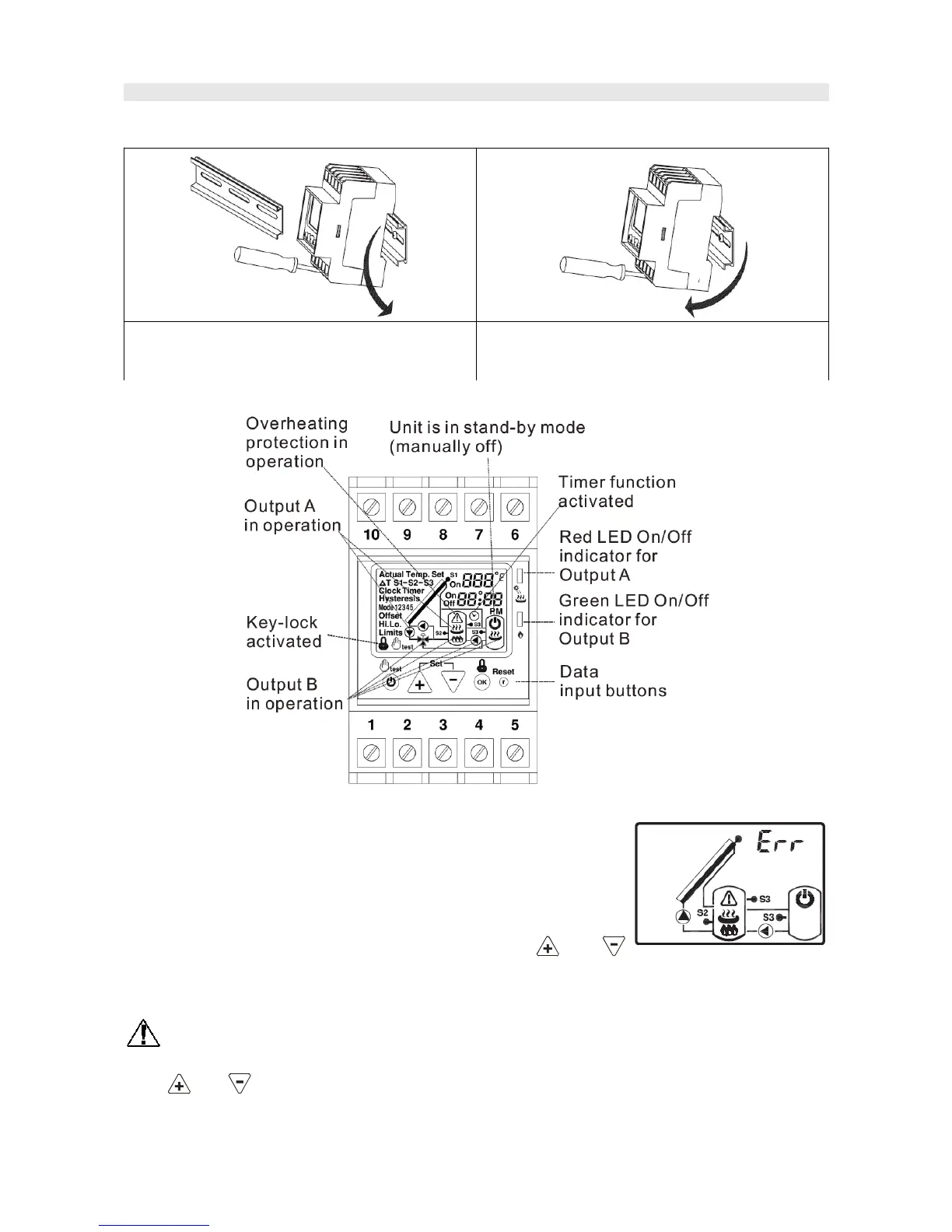
Product description
Set\Adjust internal settings
We suggest that you read the specification thoroughly before
starting to set/adjust the unit.
This unit has preventive measures to avoid errors whilst in
selecting the required operating mode.
When the error occurs, "Err" will be shown on LCD.
If this situation occurs, either press "reset" or press and
together for 5 seconds to restart setting/adjusting.
Press "reset" prior to starting to set/adjust for first time use.
In the setting/adjusting procedure, if no data is input after 1 minute, this unit will
automatic retain the settings and start to operate. Users may use this when just making
adjustments in the internal settings.
Press and together for 5 seconds to start setting/adjusting

Related product manuals