EasyManua.ls Logo

EverRide WASP - Caster Assembly

Default Icon
46 pages
Print Icon
To Next Page IconTo Next Page
To Next Page IconTo Next Page
To Previous Page IconTo Previous Page
To Previous Page IconTo Previous Page
Loading...
36 -
15
9
14
10
13
12
1
6
7
1
3
11
2
8
5
4
10
5
9
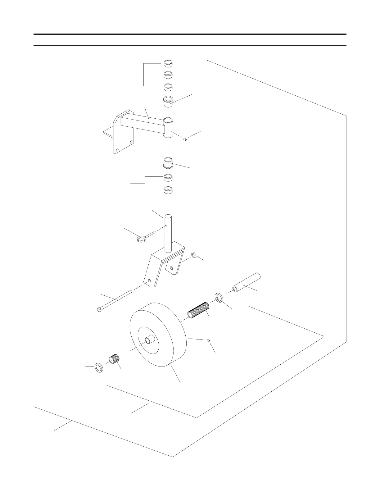
Caster Assembly

Related product manuals