EasyManua.ls Logo

F&U DVT98607 - DVD PLAYER INDICATORS AND PORTS; PLAYER BUTTONS AND JACKS

F&U DVT98607
28 pages
Print Icon
To Next Page IconTo Next Page
To Next Page IconTo Next Page
To Previous Page IconTo Previous Page
To Previous Page IconTo Previous Page
Loading...
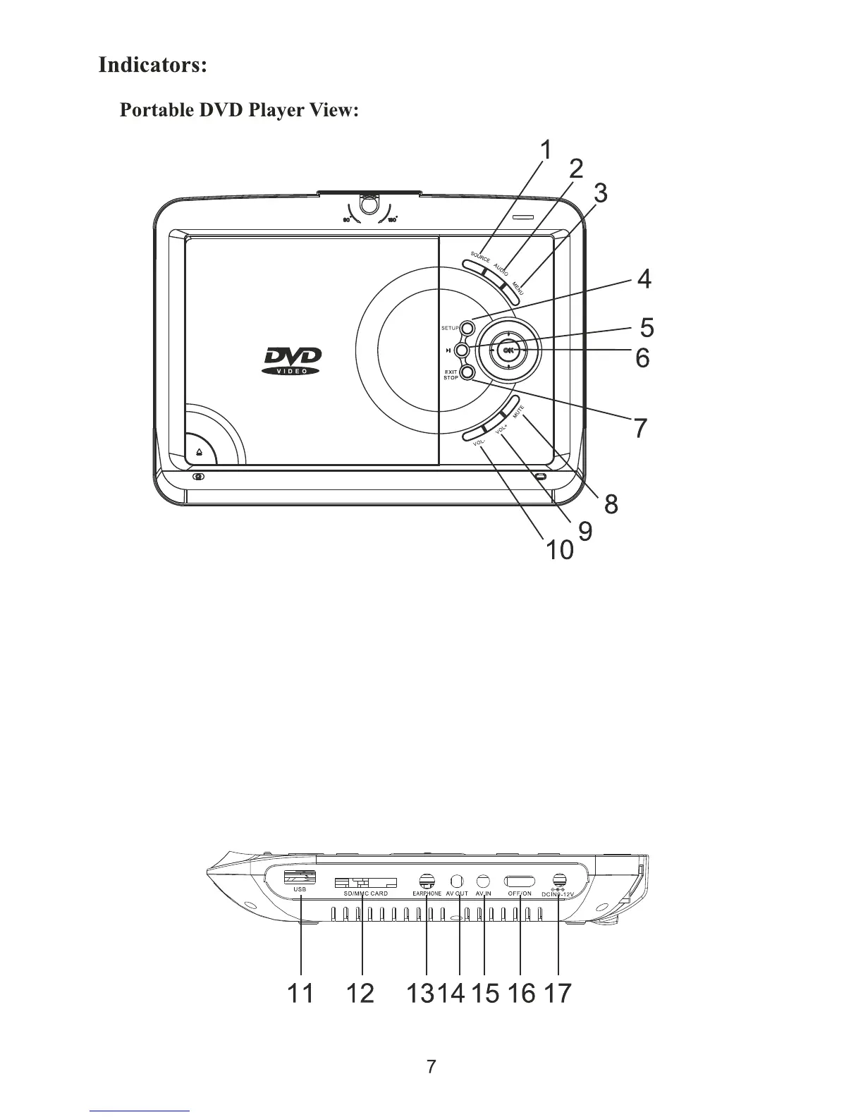
1.Source
2.Audio
3.Menu Button
4.Setup Button
5.Play/Pause Button
6.Direction and Ok Button
7.Stop Button
8.Mute
9.Volume+Button
10.Volume-Button
11.USB port (DVD function)
12.SD/MMC/CARD SLOT
13.Earphone Jack
14.AV Output Jack
15.AV Input Jack
16.Powe On/Off Switch
17.DC Input Jack