EasyManua.ls Logo

Fasep FZ41/3S - Page 13

Default Icon
37 pages
Print Icon
To Next Page IconTo Next Page
To Next Page IconTo Next Page
To Previous Page IconTo Previous Page
To Previous Page IconTo Previous Page
Loading...
2 column
electro-mechanical lift
Mod. Z41/3S
14
1) Place the platform (1) and the feet (6) in the desired positions.
2) Remove the covers (15) from the columns (2-3).
3) Check the distance of the trolley from the base (A); if it is not the same, turn
the pulley (B) manually until the distances are the same.
4) Engage the chain (18) with the pinions (19). Secure the columns using the
14 bolts (5) and the washers (7), inserting the feet protectors (4) as shown in
the figure.
WARNING! The chain must be tight.
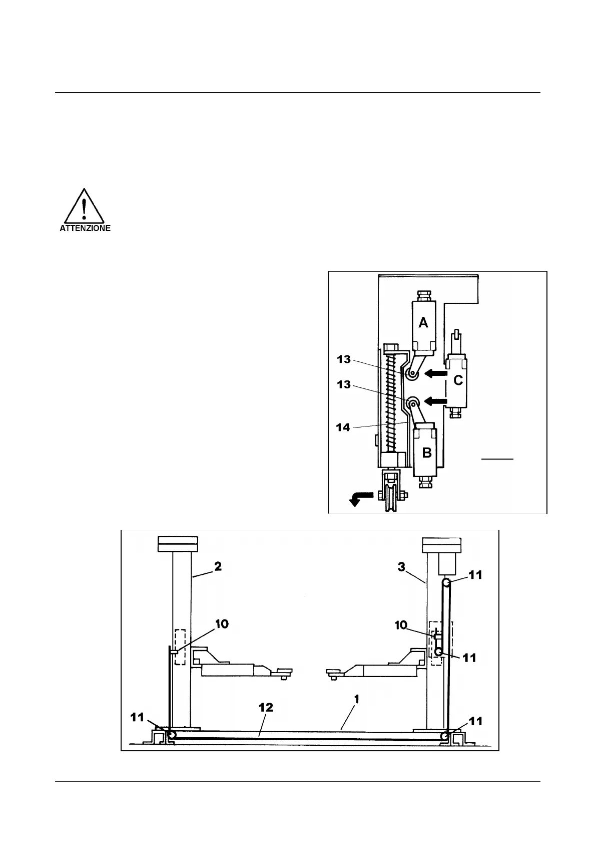
Fig. 4 - Assembly instructions
5) Assemble the control cable (12).
The cable is in the column (3) and
it must follow the path shown in
Fig. 5 using the sheaves (11) to
change direction. To cross the
platform, tie it to the wire inside the
platform and pull it.
Finally, lock the cable (12) to the
clamp (10) situated in the column
(2) making sure that the micron
wheels (13) is at the centre of the
cam (14) that is positioned at the
top of the column (3) (Fig. 4).
Fig. 5 - Control cable assembly
Micro
A= CONTROL
B= DOWN
C= UP