EasyManua.ls Logo

FATEK FBe-40MC - Page 58

FATEK FBe-40MC
86 pages
Print Icon
To Next Page IconTo Next Page
To Next Page IconTo Next Page
To Previous Page IconTo Previous Page
To Previous Page IconTo Previous Page
Loading...
FB Series SIO Driver
GP-Pro EX Device/PLC Connection Manual
58
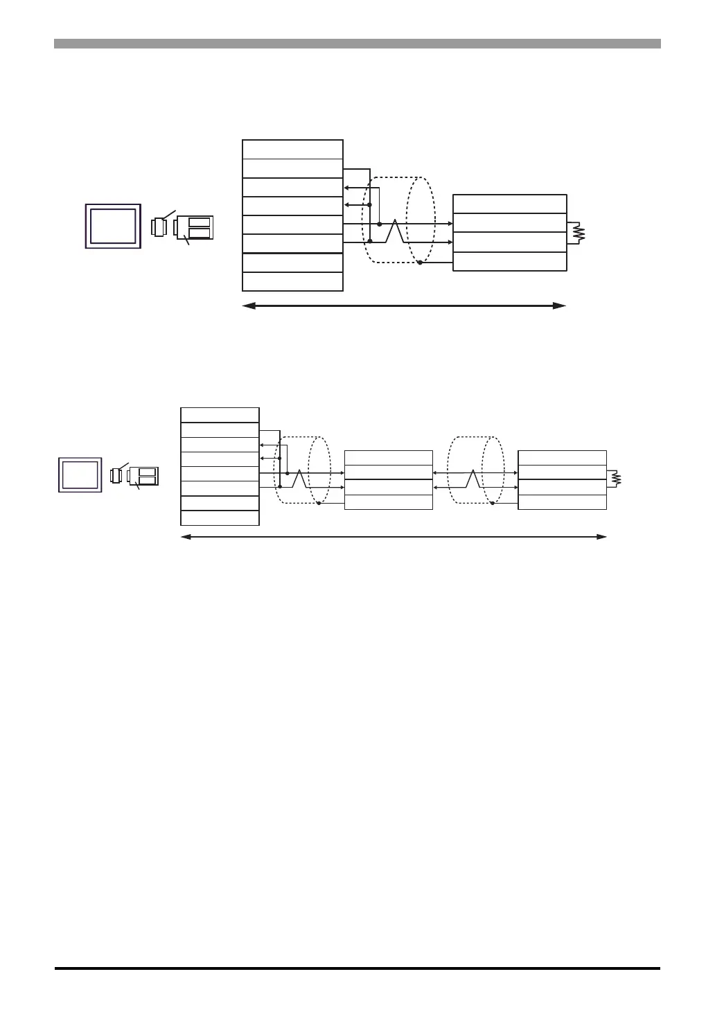
6A)
• 1:1 Connection
• 1:n Connection
Signal name
RDB
SDB
SG
FG
CA3-ADPCOM-01
CA3-ADPTRM-01
Display
Display
Terminal block
RDA
SDA
User-created Cable
Shield
External Device
Terminal block
Signal name
D+
D-
FG
TERM
120
(1/4W
)
Terminal
resistance
Ω
Signal name
RDB
SDB
SG
FG
CA3-ADPCOM-01
CA3-ADPTRM-01
Display
Display
Terminal block
RDA
SDA
User-created Cable
Shield
External Device
Terminal block
Signal name
D+
D-
FG
TERM
Shield
External Device
Terminal block
Signal name
D+
D-
FG
120
(1/4W
)
Terminal
resistance
Ω

Related product manuals