EasyManua.ls Logo

Fedders A7D18E2B - Through-the-Wall Installation; Through-Wall Installation Overview; Through-Wall Installation Steps

Fedders A7D18E2B
32 pages
Print Icon
To Next Page IconTo Next Page
To Next Page IconTo Next Page
To Previous Page IconTo Previous Page
To Previous Page IconTo Previous Page
Loading...
5
A
LTERNATE INSTRUCTIONS
SERVICE
OPERATION
INSTALLATION
ELECTRICAL REQUIREMENTS 
& SAFETY PRECAUTIONS
INSTALLATION
ELECTRICAL REQUIREMENTS 
& SAFETY PRECAUTIONS
INSTALLATION
WINDOW INSTALLATON
I
THRU-WALL INSTALLATION
I
NSTALLATION
TROUBLESHOOTING
SERVICE
TROUBLESHOOTING
ELECTRONIC CONTROLS
WARRANTY
MAINTENANCE
OPERATION
INSTALLATION
WINDOW INSTALLATON
INSTALLATION
THRU-WALL INSTALLATION
INSTALLATION
AIRFLOW / FILTER
T
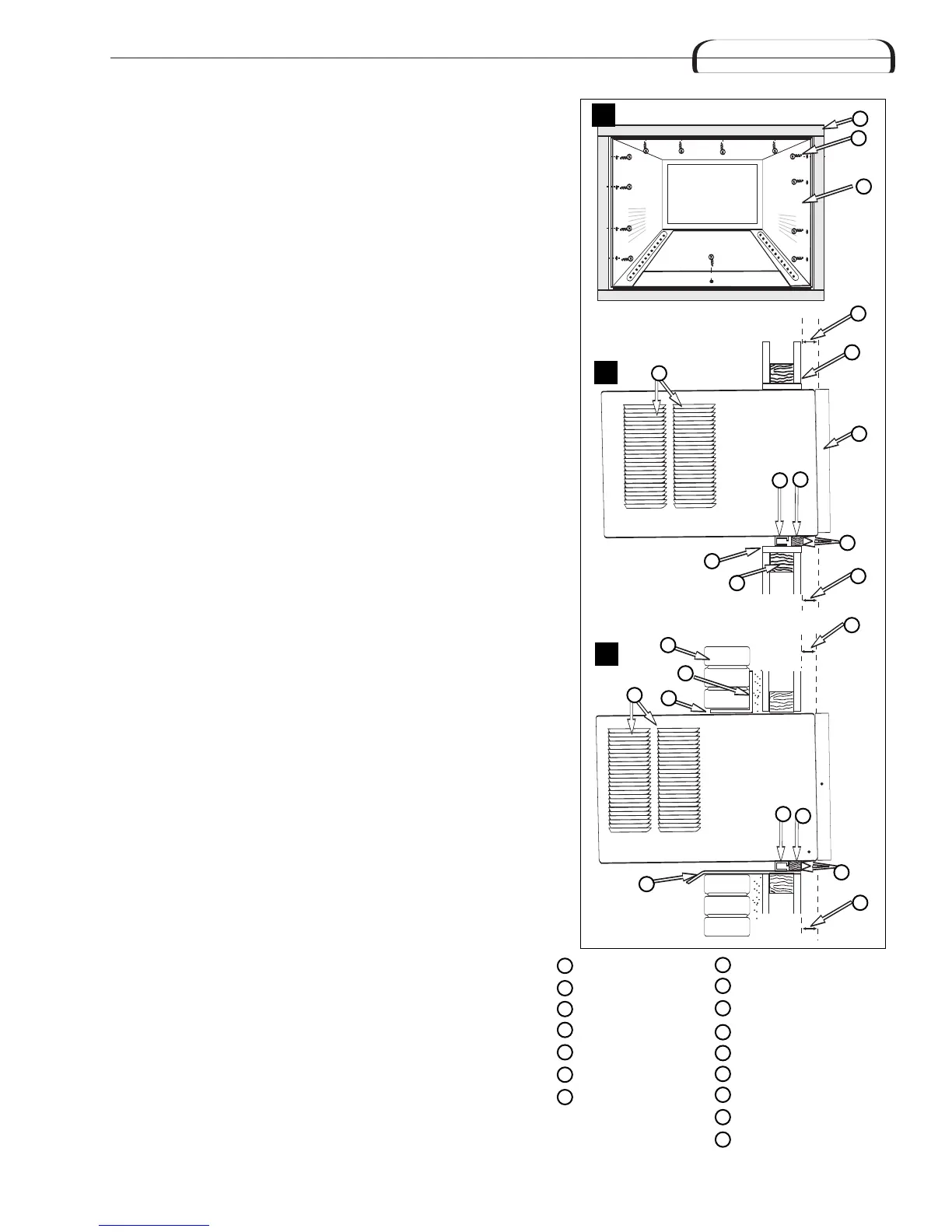
hrough-the-wall Installation
This air conditioner is designed as a slide-out type chassis, making it possible
to install it through-the-wall in both existing and new construction. We
recommend that this type of installation be performed with professional
assistance.
IMPORTANT: This appliance must be installed according to all applicable
electrical and building codes and ordinances.
It is recommended that you have help to install your unit and that you use
proper lifting technique to avoid personal injury.
It is important that you inspect the condition of the wall where the air
conditioner will be installed.
Be sure the wall can support the weight of the unit.
All cabinet louvers MUST BE on the outdoor side of the wall. DO NOT
BLOCK SIDE LOUVERS.
The cabinet must be installed level from side-to-side and with a downward
tilt from inside to outside.
1. First remove the Decorative front panel and chassis from the cabinet,
then remove top bar from the cabinet.
2. Determine the size of the opening for a wood frame by adding 1/8” to
the width and height of the cabinet. Measure height from top of cabinet
to bottom of bar. Add this measurement to the thickness of wood used
to build the frame. This will determine the size of wall opening needed.
Minimum 1” thick lumber is recommended when building the frame.
When determining finish frame thickness, be sure not to cover side
louvers on the cabinet.
3. Install the finished frame in the wall opening square and level, nail or
screw it securely to the wall and place the cabinet into the framed wall
opening.
4. Make sure cabinet projects into the roomside of the wall 1 1/4” at the top
and 1 1/2” at the bottom to ensure proper tilt and access to the anti-theft
screw, then fasten cabinet to the frame by drilling twelve (12) 1” wood
screws (not supplied) through the cabinet and into the frame.
(Fig. 17 & 18).
If installation is made in a building with brick veneer construction, a steel
angle lintel must be used to support the bricks above the cabinet.(Fig.19)
5. Install a 3/4” X 1 1/2” wood filler strip between the bottom bar and the
interior
, caulk both top and bottom of this strip. After cabinet is installed
caulk all openings, inside and outside between finish frame and cabinet
to prevent moisture from getting to the interior of the wall. Use of
flashing (driprail) will further prevent water from dripping inside
the wall.
6. Install chassis into cabinet.
A
J
J
K
L
M
N
M
M
P
P
E
C
D
D
B
G
H
F
O
O
I
I
Wood frame
1” wood screws
Cabinet
Bottom Bar
Interior wall
Decorative Front
Minimum 1x6
wood support
(nailed or screwed
to wood frame)
2” Wood frame
1 1/2” space
1 1/4” space
Brick veneer
Lintel angle
Caulking
Flashing (drip rail)
Side louvers
Wood filler strip
A
B
C
D
E
F
G
H
I
J
K
L
M
N
O
P
1
7
18
19

Related product manuals