EasyManua.ls Logo

Fieldmann FZP 2005-E - A Fűrész Leírása

Fieldmann FZP 2005-E
100 pages
Print Icon
To Next Page IconTo Next Page
To Next Page IconTo Next Page
To Previous Page IconTo Previous Page
To Previous Page IconTo Previous Page
Loading...
HU
ELEKTROMOS FŰRÉSZ HASZNÁLATI ÚTMUTA
63
Tárolás
a szerszámot csak a felhelyezett védőfedéllel szállítsa vagy tárolja
mielőtt a szerszámot elteszi, gondosan tisztítsa meg, és végezze el a szükséges karbantartást
szállítás előtt gondoskodjon róla, hogy ne szökjön az olaj, és a szerszám ne sérüljön vagy ne okozhasson
balesetet
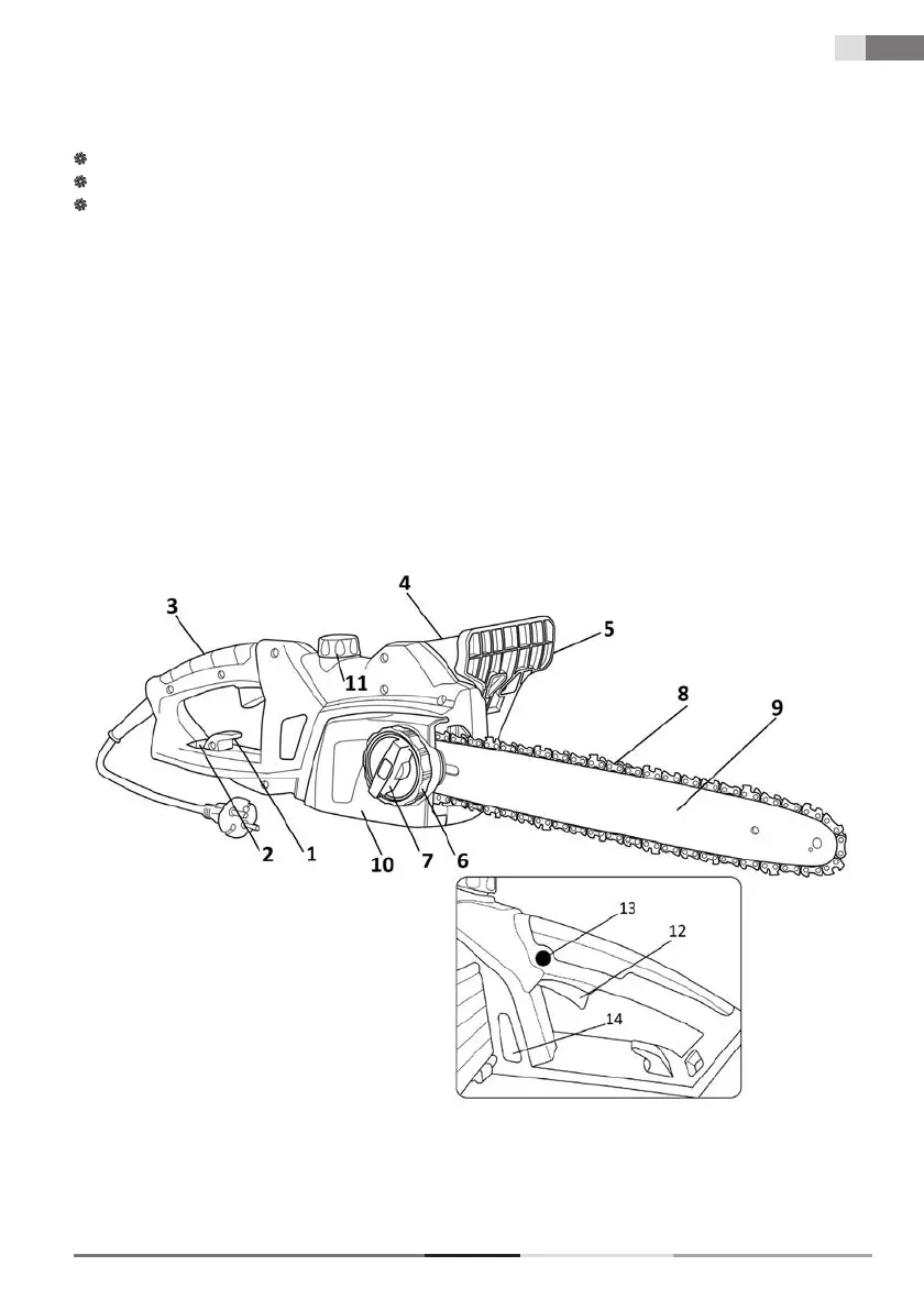
4. A FŰRÉSZ LEÍRÁSA
1. A kábelvezeték biztonsági fogantyúja
2. Nyílás a kábel rögzítésére
3. Hátsó fogantyú
4. Elülső fogantyú
5. Biztonsági fék
6. Láncfeszítő csavar
7. A lánckerék fedelének rögzítőcsavarja
8. Lánc
9. Betétléc
10. A lánckerék fedele
11. Az olajtartály dugója
12. Főkapcsoló
13. A főkapcsoló biztosítéka
14. Olajszint ellenőrző nyílás
1. kép
A csomag tartalma:
Elektromos fűrész, 40 cm-es lemez, lánc, műanyag lemezfedél, szerelőkulcs.
Biztonsági utasítások | A fűrész leírása

Table of Contents

Related product manuals