▬▬▬▬▬▬▬▬▬▬▬▬▬▬▬▬▬▬▬▬▬▬▬▬▬▬▬▬▬▬▬▬ MASSA FRESCA
PT
istruzioniIDM
- 10 - Idioma Português
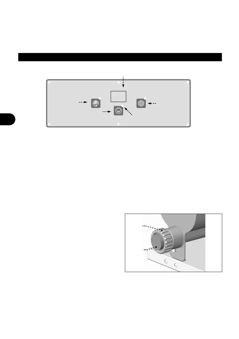
DESCRIÇÃO DOS COMANDOS
O equipamento está equipado com os dispositivos de comando apresentados, necessários
para ativar as suas funções principais.
G) Pulsante: serve para ativar o funcionamento do equipamento.
H) Botão: serve para selecionar o ciclo de amassamento; quando é pressionado repetidas
vezes, serve para configurar o valor do temporizador .
I) Botão: serve para selecionar o ciclo de extrusão.
J) Ecrã: serve para visualizar o tempo de amassamento durante o ciclo de trabalho.
K) Indicador luminoso: aceso significa que o equipamento está alimentado eletricamente.
TROCA DA TREFILA DE EXTRUSÃO
1. Desaparafusar a virola (L).
2. Substituir a trefila de extrusão (M) por
uma mais adequada ao tipo de processa-
mento pretendido.
3. Reaparafusar a virola (L).
L
M
IDM-34606300301.pdf
PF25E - PF40E
G
I
H
J
K