EasyManua.ls Logo

Fimar TR22/RS - Desmontado del Grupo de Trituración; Consejos para el Uso; Limpieza al Final de la Jornada; Inactividad de la Máquina Durante Mucho Tiempo

Fimar TR22/RS
Print Icon
To Next Page IconTo Next Page
To Next Page IconTo Next Page
To Previous Page IconTo Previous Page
To Previous Page IconTo Previous Page
Loading...
INFORMACIONES SOBRE
EL USO Y LA LIMPIEZA
3
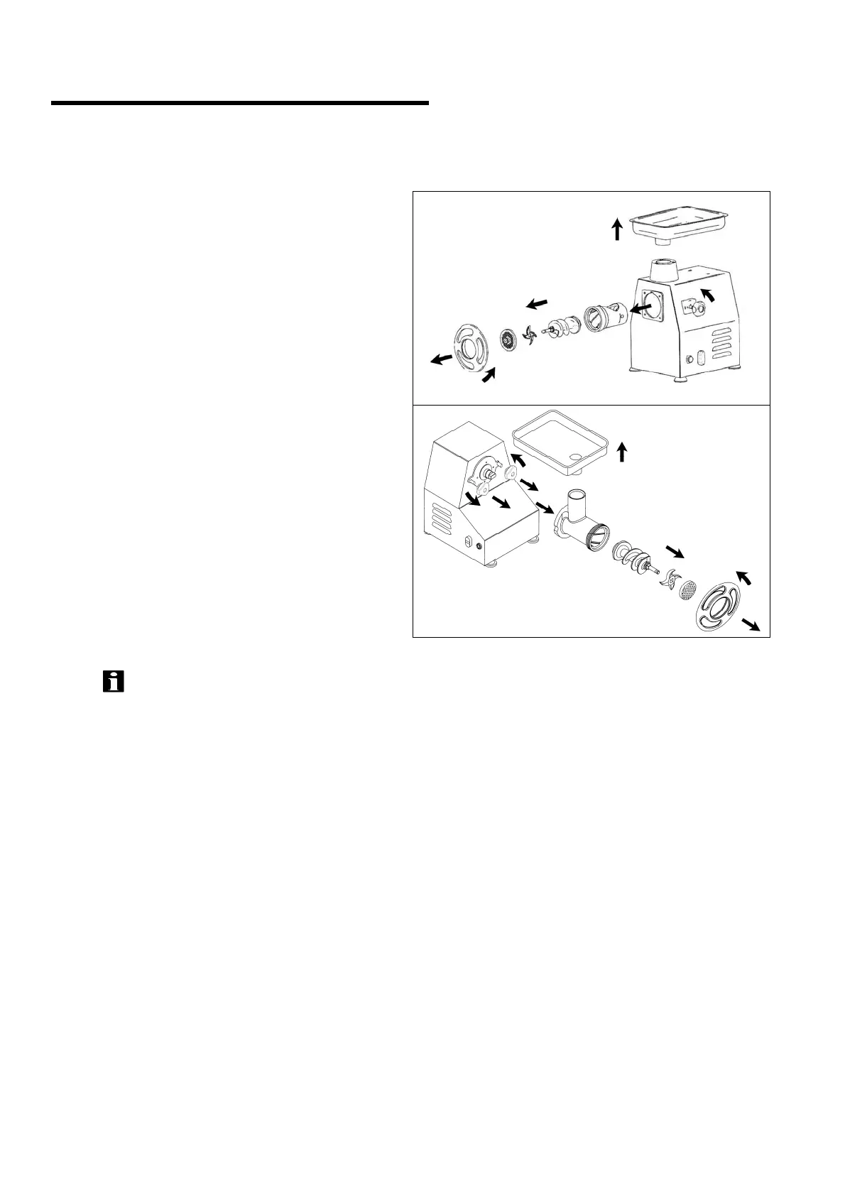
Desmotado del grupo de trituración
Extraer la tolva de la boca superior.
Girar el volante en sentido antihorario
Extraer en el siguiente orden:
- la placa perforada
- la cuchilla
- la cóclea
Destornillar el pomo para desbloquear el
cuerpo picadora de carne y extraer el cuerpo
mismo.
Para volver a montar el grupo de trituración
realizar las operaciones inversas.
Extraer la tolva de la boca superior.
Girar el volante en sentido antihorario
Extraer en el siguiente orden:
- la placa perforada
- la cuchilla
- la cóclea
Destornillar los pomos para desbloquear el
cuerpo picadora de carne y extraer el cuerpo
mismo.
Para volver a montar el grupo de trituración
realizar las operaciones inversas.
INFORMACIÓN: Antes de cada ciclo de trabajo comprobar que las partes amovibles se
encuentren bien ajustadas a la máquina.
Consejos para el uso
El grupo de trituración, por su característica de ser completamente extraíble (sólo mod.TR22/TS-TR32/TN-
AB2/AT), puede ser colocado en el frigorífico o lugar similar, incluso con residuos de producto en su interior.
Esta característica de la máquina permite el uso de la picadora de carne en momentos diversos de la
jornada, sin por ello tener que lavar y limpiar los distintos componentes después de su uso, según lo
prescripto por la normativa vigente sobre higiene.
Limpieza al final de la jornada
Al final de la jornada desconectar el enchufe de la toma de corriente.
Realizar una limpieza cuidadosa utilizando productos neutros.
Limpiar las partes externas de la máquina con una esponja húmeda.
No utilizar esponjas metálicas o detergentes abrasivos.
Desmontar el grupo de trituración y lavarlo con los detergentes adecuados con agua caliente o en el
lavaplatos.
Inactividad de la máquina durante mucho tiempo
En caso de que nose utilice la máquina durante mucho tiempo, desactivar el interruptor general de pared,
efectuar una limpieza general de la máquina y cubrirla con una tela para protegerla del polvo.

Table of Contents

Related product manuals