EasyManua.ls Logo

Fimar TR22/RS - Desmontagem Grupo Moedura; Conselhos para O Uso; Limpeza DIária; Longo Período de Inactividade da Máquina

Fimar TR22/RS
Print Icon
To Next Page IconTo Next Page
To Next Page IconTo Next Page
To Previous Page IconTo Previous Page
To Previous Page IconTo Previous Page
Loading...
INFORMAÇÕES PARA O USO
E A LIMPEZA
3
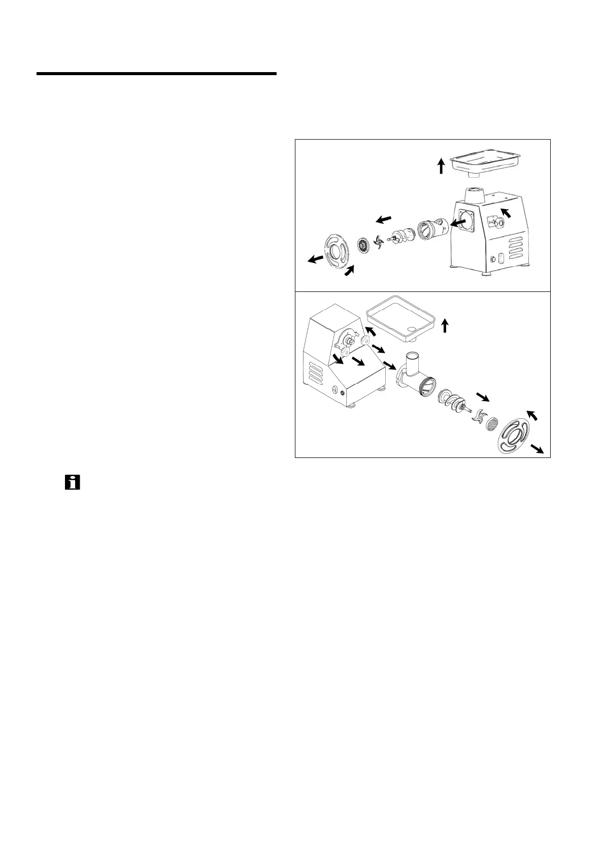
Desmontagem do grupo moedor
Retire a tremonha da boca superior.
Rode em sentido anti-horário o volante.
Retire em sucessão:
- o disco furado
- a faca
- a cóclea
Desaparafuse o manípulo para desbloquear o
corpo do moedor de carne e depois retire o
corpo moedor.
Para montar o grupo moedor execute as
operações em sucessão inversa.
Retire a tremonha da boca superior.
Rode em sentido anti-horário o volante.
Retire em sucessão:
- o disco furado
- a faca
- a cóclea
Desaparafuse os manípulos para desbloquear
o corpo do moedor de carne e depois retire o
corpo moedor.
Para montar o grupo moedor execute as
operações em sucessão inversa.
INFORMAÇÕES: Antes de cada ciclo de trabalho verifique que as partes amovíveis estejam
bem apertadas e fixas com a máquina.
Conselhos para o uso
O grupo moedor completamente extraível (só mod.TR22/TS-TR32/TN-AB22/AT) pode ser posto no
frigorífico ou aparelhos similares, mesmo com resíduos de produto no seu interior. Esta característica da
máquina permite utilizar o moedor de carne em diversos momentos do dia, sem que seja necessário lavar e
limpar os vários componentes depois do uso, segundo quanto prescrito pelas norma de higiene em vigor.
Limpeza diária
No fim do dia retire a ficha da tomada de corrente.
Faça uma cuidadosa limpeza utilizando produtos neutros.
Limpe as partes internas da máquina com uma esponja húmida.
Não utilize palha-de-aço e detergentes abrasivos.
Desmonte o grupo moedor e lave-o com detergentes adequados em água quente ou na máquina de
lavar a louça .
Longo período de inactividade da máquina
Devendo deixar a máquina parada por um longo período de tempo, desligue o interruptor geral, efectue uma
limpeza geral da máquina e cubra-a com uma lona para protegê-la contra a poeira.

Table of Contents

Related product manuals