EasyManua.ls Logo

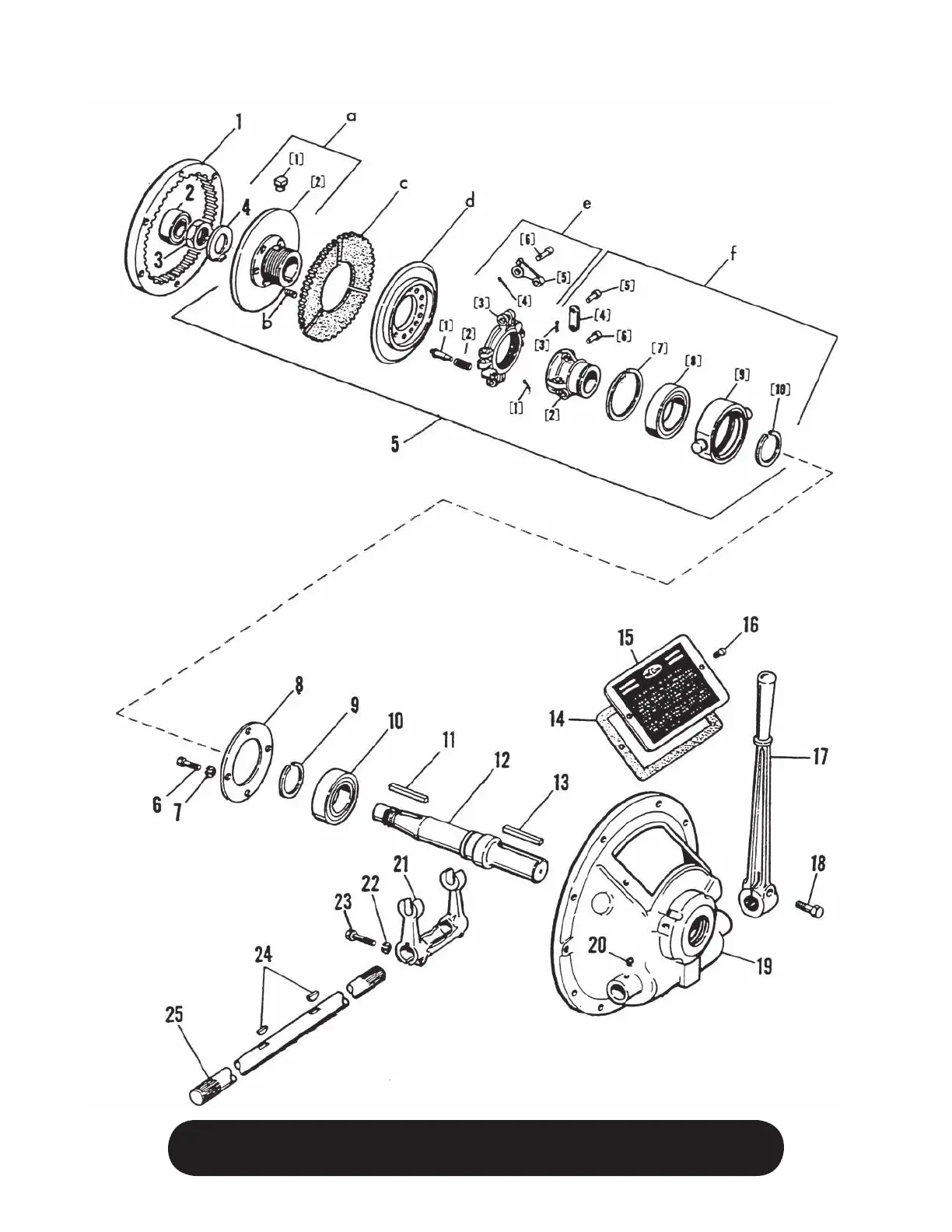
Finn B-70 - Power Take Off Assembly Parts

Finn B-70
38 pages
Print Icon
To Next Page IconTo Next Page
To Next Page IconTo Next Page
To Previous Page IconTo Previous Page
To Previous Page IconTo Previous Page
Loading...
LBB70-SS
24
WHEN ORDERING PARTS, BE SURE TO STATE
SERIAL NUMBER OF MACHINE

Other manuals for Finn B-70

Related product manuals