EasyManua.ls Logo

FISCHBEIN F Series - Page 73

FISCHBEIN F Series
77 pages
Print Icon
To Next Page IconTo Next Page
To Next Page IconTo Next Page
To Previous Page IconTo Previous Page
To Previous Page IconTo Previous Page
Loading...
FISCHBEIN
®
F SERIES PORTABLE SEWING MACHINES
OPERATOR’S MANUAL
REV. H 9/2011
73
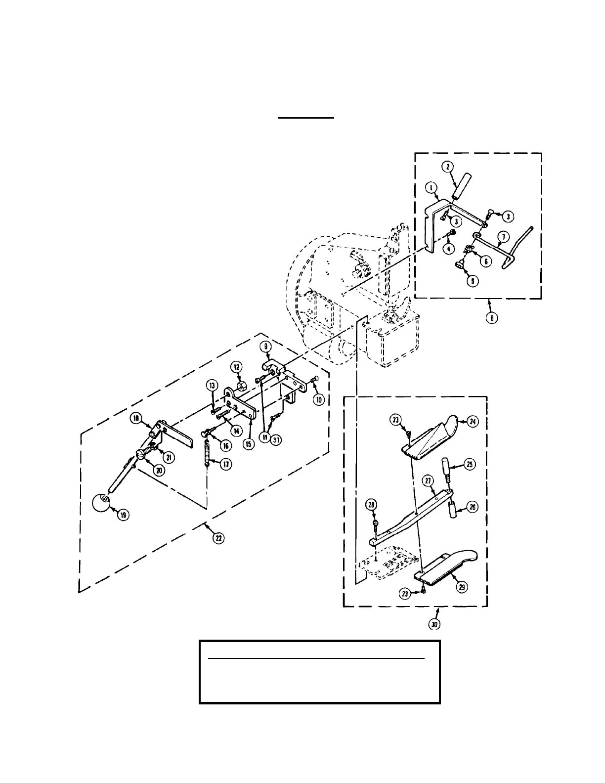
PLATE J
NOTE: Tape Attachment Assembly #1650
Requires: Throat Plate #11212
Presser Foot #11399

Related product manuals