EasyManua.ls Logo

Fisher 249 - D200099 X012 April

Fisher 249
20 pages
Print Icon
To Next Page IconTo Next Page
To Next Page IconTo Next Page
To Previous Page IconTo Previous Page
To Previous Page IconTo Previous Page
Loading...
Instruction Manual
D200099X012
249 Caged Sensors
April 2017
19
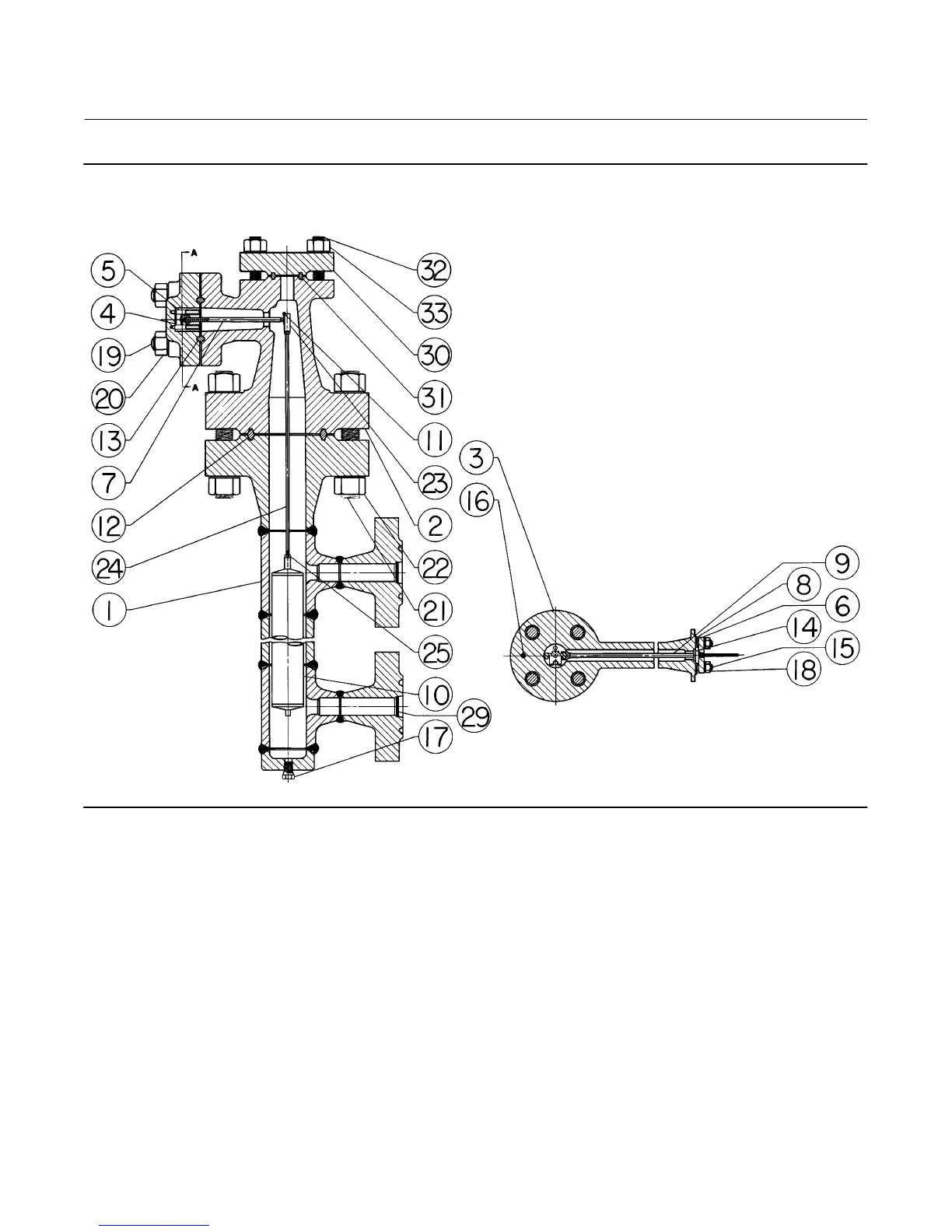
Figure 12. Fisher 249L Sensor Construction
50A7430‐C
SECTION A‐A