EasyManua.ls Logo

Fox F28-182A - Page 27

Fox F28-182A
28 pages
Print Icon
To Next Page IconTo Next Page
To Next Page IconTo Next Page
To Previous Page IconTo Previous Page
To Previous Page IconTo Previous Page
Loading...
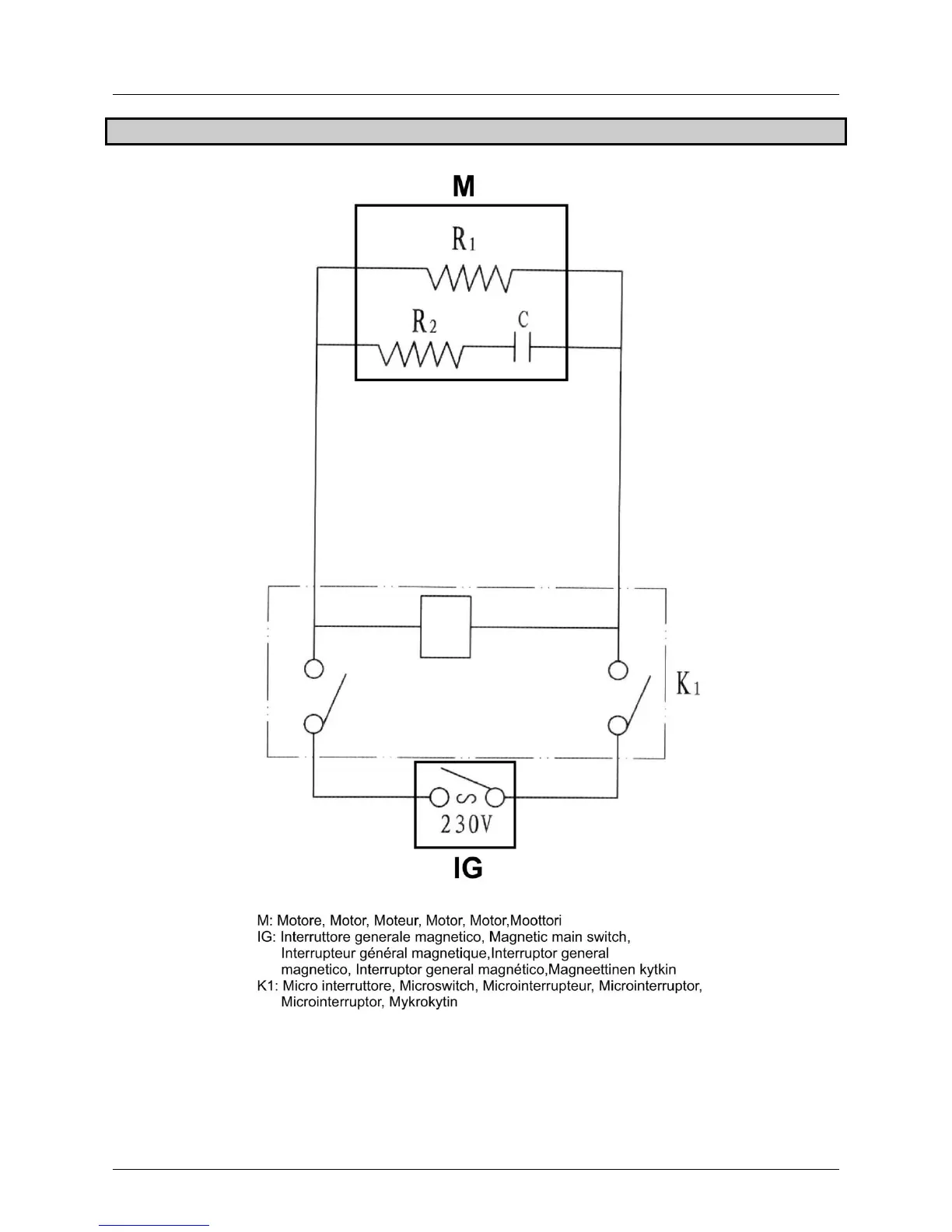
WIRING DIAGRAM

Related product manuals