EasyManua.ls Logo

Frontier FM1015 - FM1012 Wing Deck Assembly

Frontier FM1015
66 pages
Print Icon
To Next Page IconTo Next Page
To Next Page IconTo Next Page
To Previous Page IconTo Previous Page
To Previous Page IconTo Previous Page
Loading...
44 Parts
5WPMAN0183 (Rev. 7/9/2008)
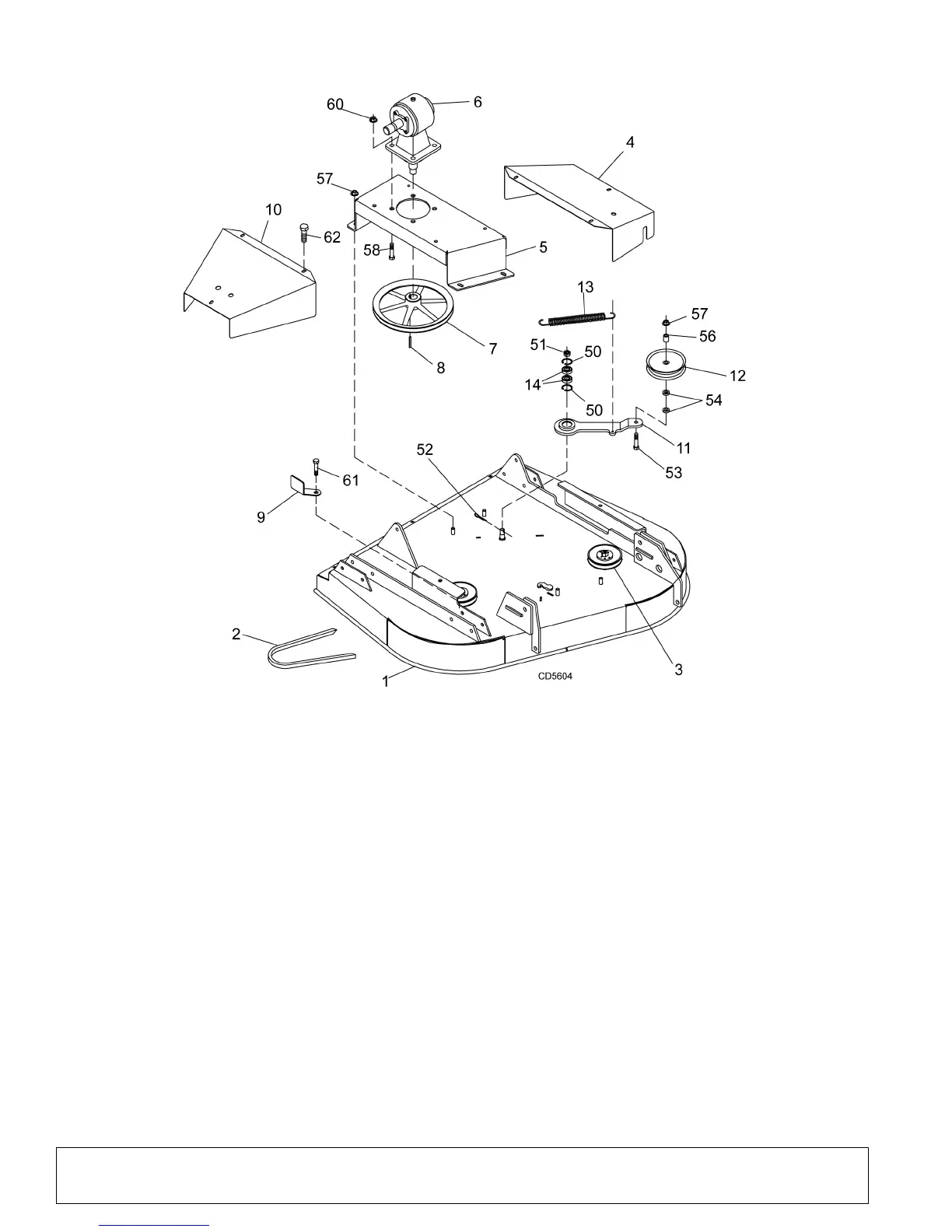
FM1012 WING DECK ASSEMBLY
REF PART QTY DESCRIPTION
1 5WP1000609 1 Deck, Weld asy 4 foot left -or-
1 5WP1000608 1 Deck, Weld asy 4 foot right (NS)
2 5WP40930 1 V-Belt, W80
3 3 CW Spindle asly (See page 48)
4 5WP58953 1 Shield, Belt left -or-
4 5WP58954 1 Shield, Belt right (NS)
5 5WP58295 1 Gearbox stand, Left -or-
5 5WP58294 1 Gearbox stand, Right (NS)
6 5WP1002499 1 Gearbox, 1:1.92 (See page 47)
7 5WP65197 1 Sheave, Offset 12.4 PD
8 5WP29792 1 Key, HT 1/4 x 1/4 x 1-1/4
9 5WP53567 1 Guide, Belt 8 Ga formed
10 5WP58952 2 Shield, Belt inner
11 5WP57939 1 Idler arm assembly
12 5WP57972 1 Idler, Flat 6.0 Dia
REF PART QTY DESCRIPTION
13 5WP67131 1 Spring, Ext .177 x 1.22 x 9.88
14 5WP35193 2 Bearing, Ball
50 5WP35141 Ring, Retaining int .062 x 1.56
51 5WP302178 Nut, Castle 5/8 NF
52 * Pin, Cotter 3/16 x 1-1/2
53 * Screw, HHCS 1/2 NC x 2-1/2 GR5
54 * Washer, Flat 1/2 standard
56 5WP52877 Sleeve, .51 x .63 x .64
57 5WP11900 Nut, Flanged lock 1/2 NC
58 5WP19024 Screw, Flngd hex head 5/8 NC x 1-3/4
60 5WP19025 Nut, Flanged lock 5/8 NC
61 5WP4358 Screw, HHCS 1/2 NF x 1-1/4 GR5
62 5WP62153 Bolt, Flngd whiz 3/8 NC x 1
NS Not Shown
* Standard Hardware, Obtain Locally

Related product manuals