EasyManua.ls Logo

Fujitsu AB12 - System Wiring

Fujitsu AB12
199 pages
Print Icon
To Next Page IconTo Next Page
To Next Page IconTo Next Page
To Previous Page IconTo Previous Page
To Previous Page IconTo Previous Page
Loading...
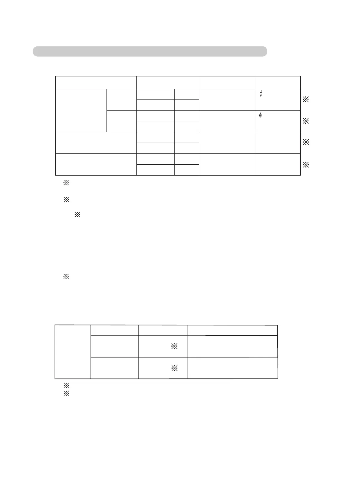
1-2-2 SYSTEM WIRING
Maximum H07RN-F or
Minimum equivalent
3 4 wire 50Hz
380-415V
1 2 wire 50Hz
220-240V
Maximum Sheathed vinyl
Minimum cord cable
Size
Power supply
cable (mm )
Maximum
Shield cord
(LONWORKS
Minimum
compatible part)
Transmission
cable (mm )
Wired remote control
cable (mm )
8.0
6.0
Maximum H07RN-F or
Minimum equivalent
2.5
1.5
1.25
0.75
1.25
0.75
Use
2
2
2
Wire type Remarks
Non-polar
2-core
Polar 3-core
Outdoor
unit
Indoor
unit
Fuse
capacity
Model Field fuse
40A
20A
Outdoor
unit
Indoor
unit
1
2
3
4
5
The grounding wire is not included in this cable.
Always ground the unit.
Do not bundle the transmission cable with other wires.
Total wiring length:maximum 2000m.
1,2
3
However,when wiring exceeds 500m in length,
a signal amplifier (option) is required.
Use the shielded wire specified and always ground(however,one side only).
If not,transmit-receive with a transmission line is not
only impossible normally,but malfunction may occur.
4 10m cable attached.
Use the shielded cable in accordance with standards
in the country.
Wiring length of a remote controller group shall be
within 500m.
5
per one outdoor unit
per one refrigerant system.
6
6
Leakage breaker
40A 100mA 0.1sec or less
20A 40mA 0.1sec or less
– 12
Transmission cable between each unit : 200m max
Each unit means indoor unit,outdoor unit,central remote controller,
and signal amplifier.

Table of Contents

Related product manuals