EasyManua.ls Logo

Fujitsu AR*9LUAB

Fujitsu AR*9LUAB
116 pages
To Next Page IconTo Next Page
To Next Page IconTo Next Page
To Previous Page IconTo Previous Page
To Previous Page IconTo Previous Page
Loading...
13. MANUAL AUTO OPERATION (Indoor unit body operation)
If MANUAL AUTO Button is set, the operation is controlled as shown in Table 5.
If the remote control is lost or battery power dissipated, this function will work without the remote
control.
(Table 5 : Manual auto operation)
14. COMPRESSOR PREHEATING
01-27
When the outdoor heat exchanger temperature is lower than Operation temperature (Refer to Table 6)
and the heating operation has
been stopped for 3 hours, power is applied to the compressor and
the compressor is heated.
(By heating the compressor, warm air is quickly discharged when operation is started.)
When operation was started, and when the outdoor temperature rises to Release temperature or greater,
preheating
is over.
(Table 6 : Preheating Operation / Release Temperature)
Before 24 hour After 24 hour
Operation
temperature
Operation
temperature
Release
temperature
Release
temperature
3°C 7°C 0°C 4°C
OPERATION MODE
Auto changeover
FAN CONT. MODE
Auto
TIMER MODE
Continuous (No timer setting available)
SETTING TEMP.
23°C or 24°C
SETTING LOUVER
Standard
SWING
OFF
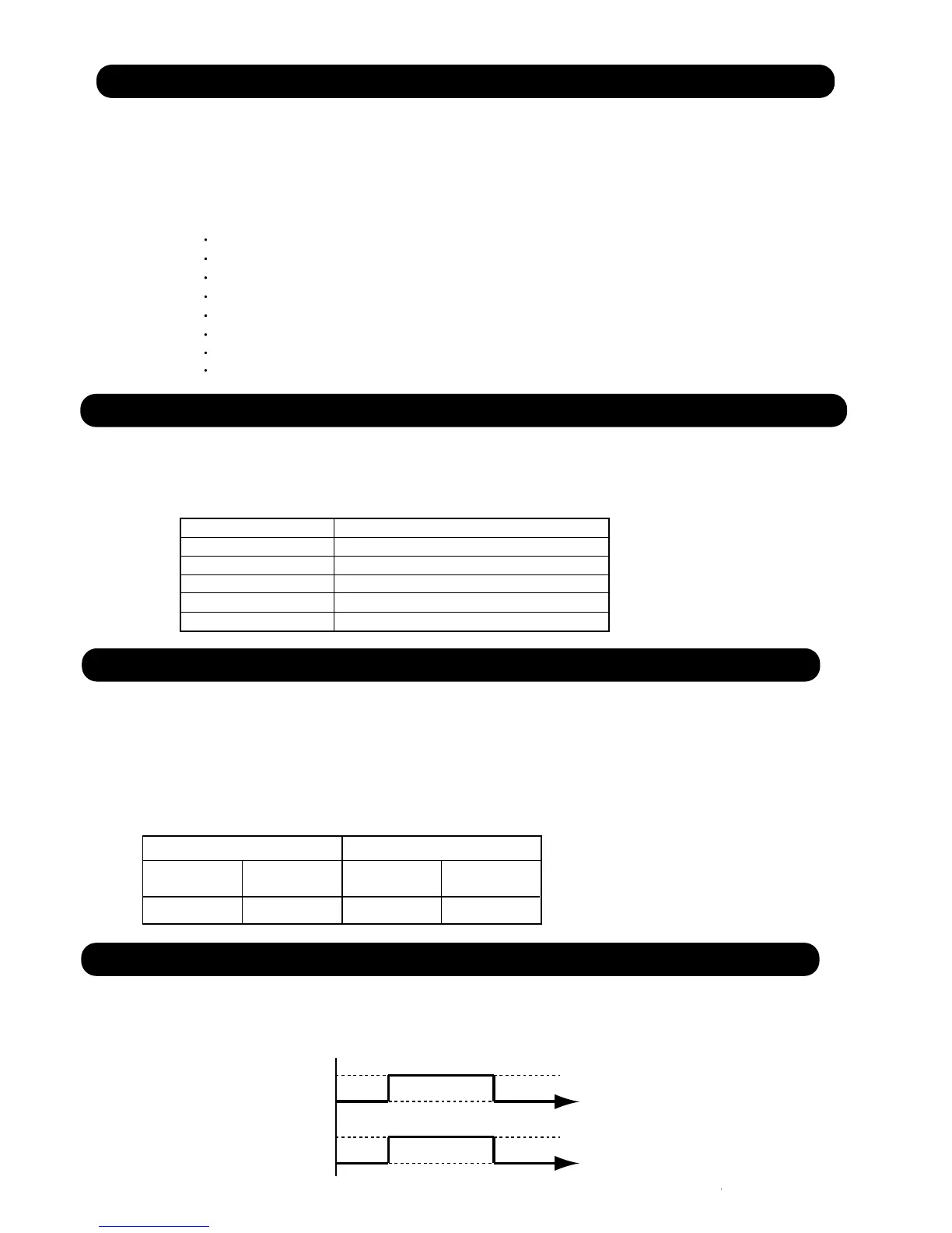
The fan motor for Fresh Air is operated in synchronization with the indoor fan operation
as shown in Figure 11.
15. FRESH AIR CONTROL (For AR type)
(Fig.11 : Fresh air control)
Operation
Stop
Operation
Stop
Fan motor
(Indoor unit)
Fan motor
(for Fresh Air)
12. AUTO RESTART
When the power was interrupted by a power failure, etc. during operation, the operation contents
at that time are memorized and when power is recovered, operation is automatically resumed with
the memorized operation contents.
When the power is interrupted and recovered during timer operation, timer operation is canceled,
but only setting time is memorized.
[Operation contents memorized when the power is interrupted]
Operation mode
Set temperature
Set air flow
Timer mode and timer time
Air flow Direction
Swing
Thermistor detected position (For AU*F model wih wired remote controller)
10°C HEAT (For AG*F model)

Other manuals for Fujitsu AR*9LUAB

Related product manuals