EasyManua.ls Logo

Fujitsu ARXC90GBTH - 3-2-3,4 Auto Changeover

Fujitsu ARXC90GBTH
255 pages
Print Icon
To Next Page IconTo Next Page
To Next Page IconTo Next Page
To Previous Page IconTo Previous Page
To Previous Page IconTo Previous Page
Loading...
03-06
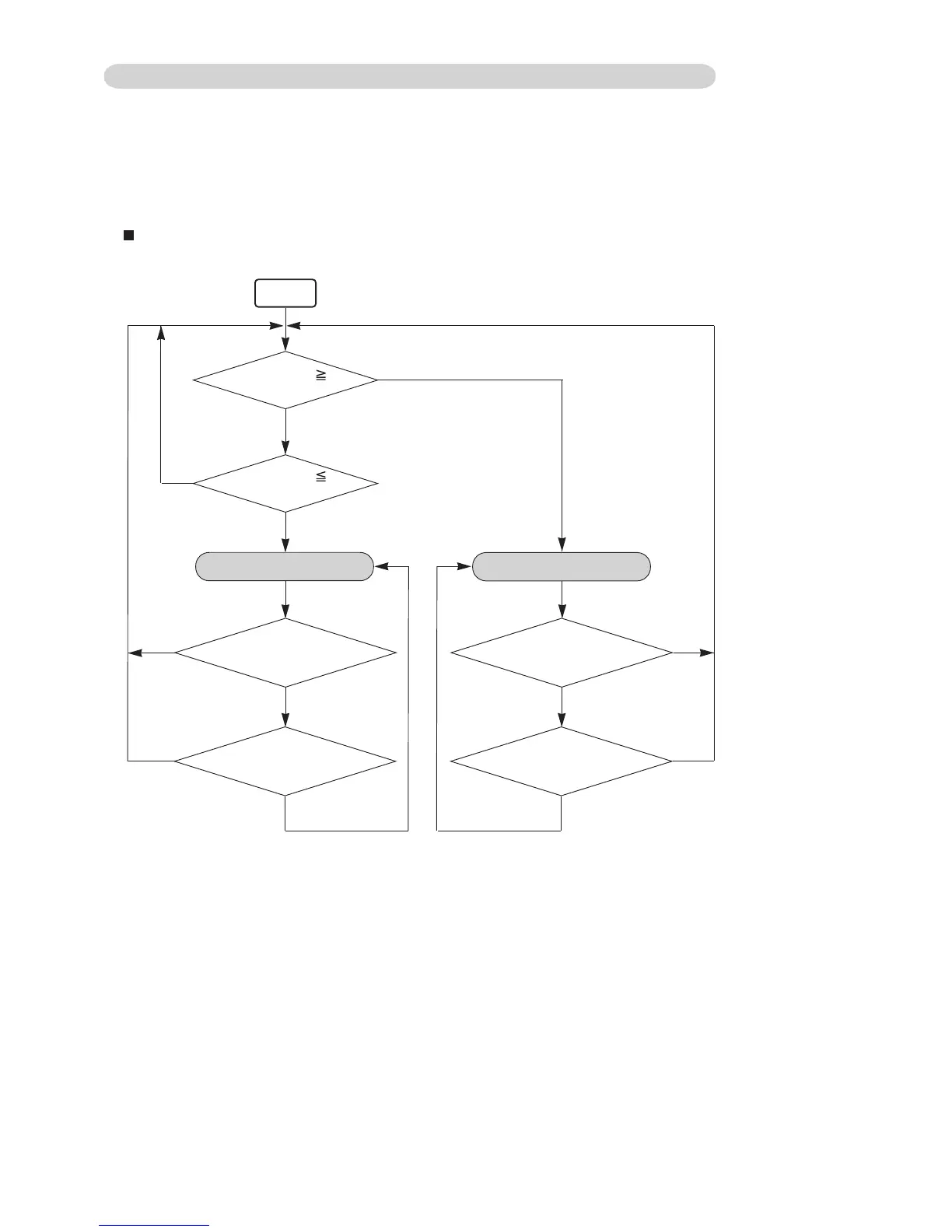
3-2-2 Auto Changeover
Operation flow chart
START
Room temp.
Room temp.
Ts+2°C ?
COOLING OPERATION
HEATING OPERATION
YES
YES
NO
NO
NO
NO
YES
YES
AUTO CHANGEOVER operation
TS : Setting temperature
Ts- 2°C ?
[Method]
1. Switch operation mode management to "Management by indoor unit" by outdoor unit DIP-SW.
2. Set the master indoor unit by wired remote controller.
3. Judge cooling/heating by the difference between the master indoor unit's setting temperature and
the room temperature.
Thermostat remains
in OFF state for 6 minutes or
longer?
System stops
or operation command other than
auto changeover operation?
NO
NO
Thermostat remains
in OFF state for 6 minutes or
longer?
System stops
or operation command other than
auto changeover operation?
YES
YES

Table of Contents

Related product manuals