EasyManua.ls Logo

Fujitsu ASU12RLF1

Fujitsu ASU12RLF1
105 pages
To Next Page IconTo Next Page
To Next Page IconTo Next Page
To Previous Page IconTo Previous Page
To Previous Page IconTo Previous Page
Loading...
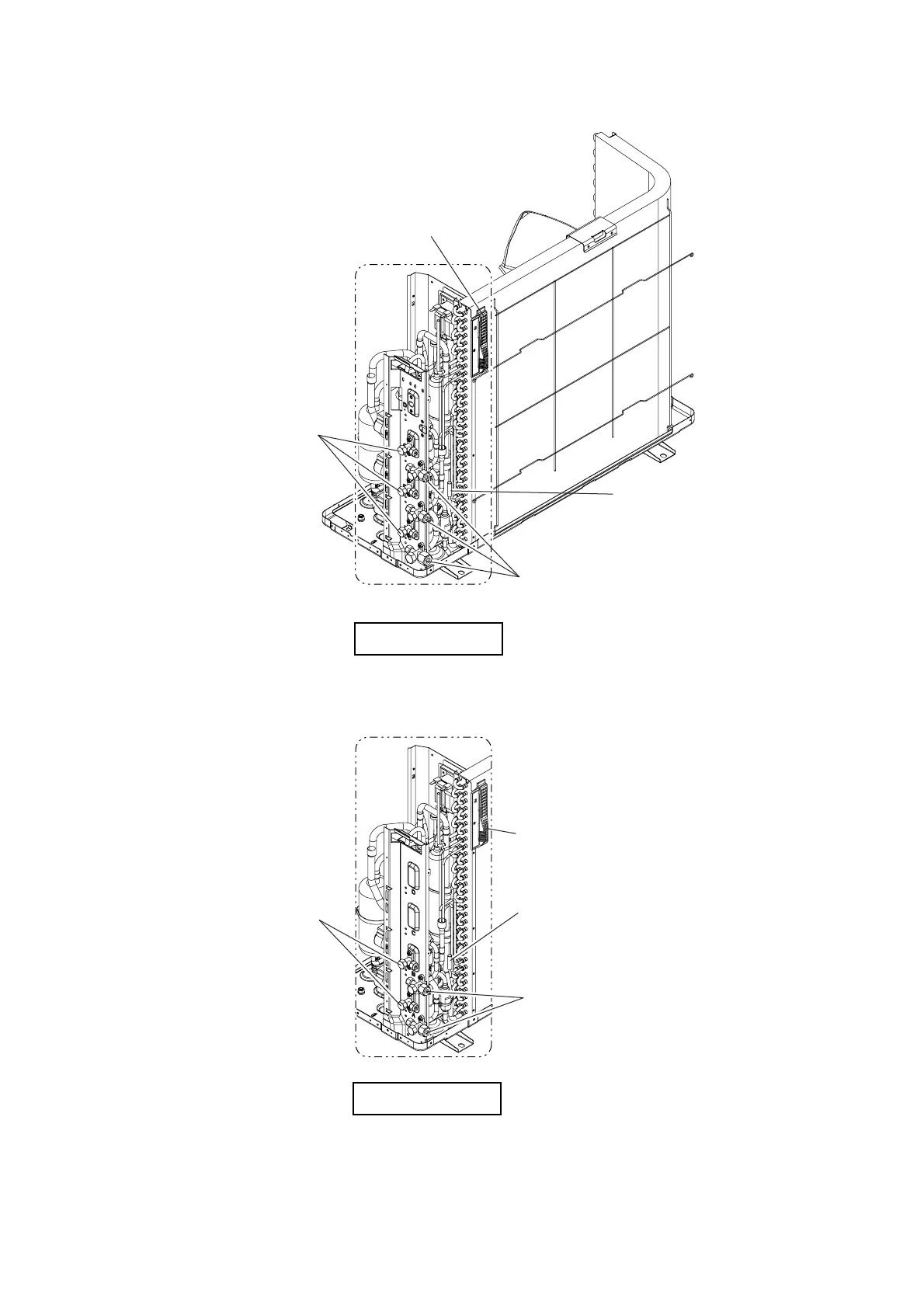
Thermistor
(Heat exchanger temp.)
2-way valve assy
(Liquid)
3-way valve assy
(Gas)
03-02
Thermo Holder&
Thermistor (Outdoor Temp.)
Thermistor
(Heat exchanger temp.)
2-way valve assy
(Liquid)
3-way valve assy
(Gas)
Thermo Holder&
Thermistor (Outdoor Temp.)
AOU24RLXFZ
AOU18RLXFZ

Other manuals for Fujitsu ASU12RLF1

Related product manuals