EasyManua.ls Logo

GE Multilin 469 - P References

GE Multilin 469
338 pages
Print Icon
To Next Page IconTo Next Page
To Next Page IconTo Next Page
To Previous Page IconTo Previous Page
To Previous Page IconTo Previous Page
Loading...
CHAPTER 5: SETTINGS
469 MOTOR MANAGEMENT RELAY – INSTRUCTION MANUAL 5–9
5.2.2 Preferences
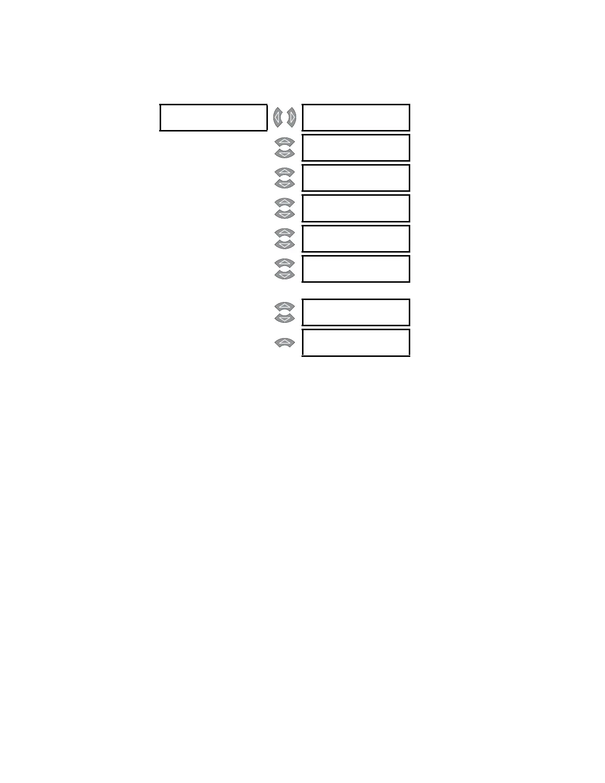
PATH: SETTINGS Z S1 469 SETUP ZV PREFERENCES
Some characteristics can be modified for different situations. Normally this subgroup will
not require changes.
DEFAULT MESSAGE CYCLE TIME:
If multiple default messages are chosen, the display
automatically cycles through those messages. The display time can be changed to
accommodate different user preferences.
DEFAULT MESSAGE TIMEOUT:
If no keys are pressed for a period of time, the relay
automatically scans a programmed set of default messages. This time can be user-
defined to ensure messages remain on the screen for a suitable time while entering
settings or actual values. Once default scanning starts, pressing any key returns the
last message viewed.
AVERAGE MOTOR LOAD CALCULATION PERIOD: This settings adjusts the period of
time over which the average motor load is calculated. The calculation is a sliding
window and is ignored during motor starting.
TEMPERATURE DISPLAY: Temperature measurements may be displayed in either
Celsius or Fahrenheit. Each temperature value is displayed as °C or °F. RTD settings are
always displayed in degrees Celsius.
TRACE MEMORY TRIGGER POSITION: Sets the trigger position for waveform capture.
This value represents the percentage of cycles captured and recorded in the trace
memory buffer prior to the trigger (trip).
TRACE MEMORY BUFFERS: Sets the number of traces to capture and the number of
cycles for each of the 10 waveforms captured. Note: 10 waveforms are captured for
each trace, showing all currents and voltages.
DISPLAY UPDATE INTERVAL: Sets the duration for which the metered current and
voltage readings are averaged before being displayed. It does not affect relay
PREFERENCES [
DEFAULT MESSAGE
CYCLE TIME: 2.0 s
Range: 0.5 to 10.0 s in steps of 1
MESSAGE
DEFAULT MESSAGE
TIMEOUT: 300 s
Range: 10 to 900 s in steps of 1
MESSAGE
AVERAGE MOTOR
LOAD
Range: 1 to 90 min. in steps of 1
MESSAGE
TEMPERATURE DIS-
PLAY:
Range: Celsius, Fahrenheit
MESSAGE
TRACE MEMORY
TRIGGER
Range: 1 to 100% in steps of 1
MESSAGE
TRACE MEMORY BUF-
FERS
Range:1x64, 2x42, 3x32, 4x35, 5x21,
6x18, 7x16, 8x14, 9x12, 10x11,
11x10, 12x9, 13x9, 14x8, 15x8,
16x7 cycles.
MESSAGE
DISPLAY UPDATE
INTERVAL: 0.4 s
Range: 0.1 to 6.0 s in steps of 0.1
MESSAGE
MOTOR LOAD FILTER
INTERVAL: 0
Range: 0 to 32 cycles (0 = OFF) in steps
of 1

Table of Contents