EasyManua.ls Logo

GE Multilin 469 - 6.2.6 Digital Inputs

GE Multilin 469
338 pages
Print Icon
To Next Page IconTo Next Page
To Next Page IconTo Next Page
To Previous Page IconTo Previous Page
To Previous Page IconTo Previous Page
Loading...
CHAPTER 6: ACTUAL VALUES
469 MOTOR MANAGEMENT RELAY – INSTRUCTION MANUAL 6–9
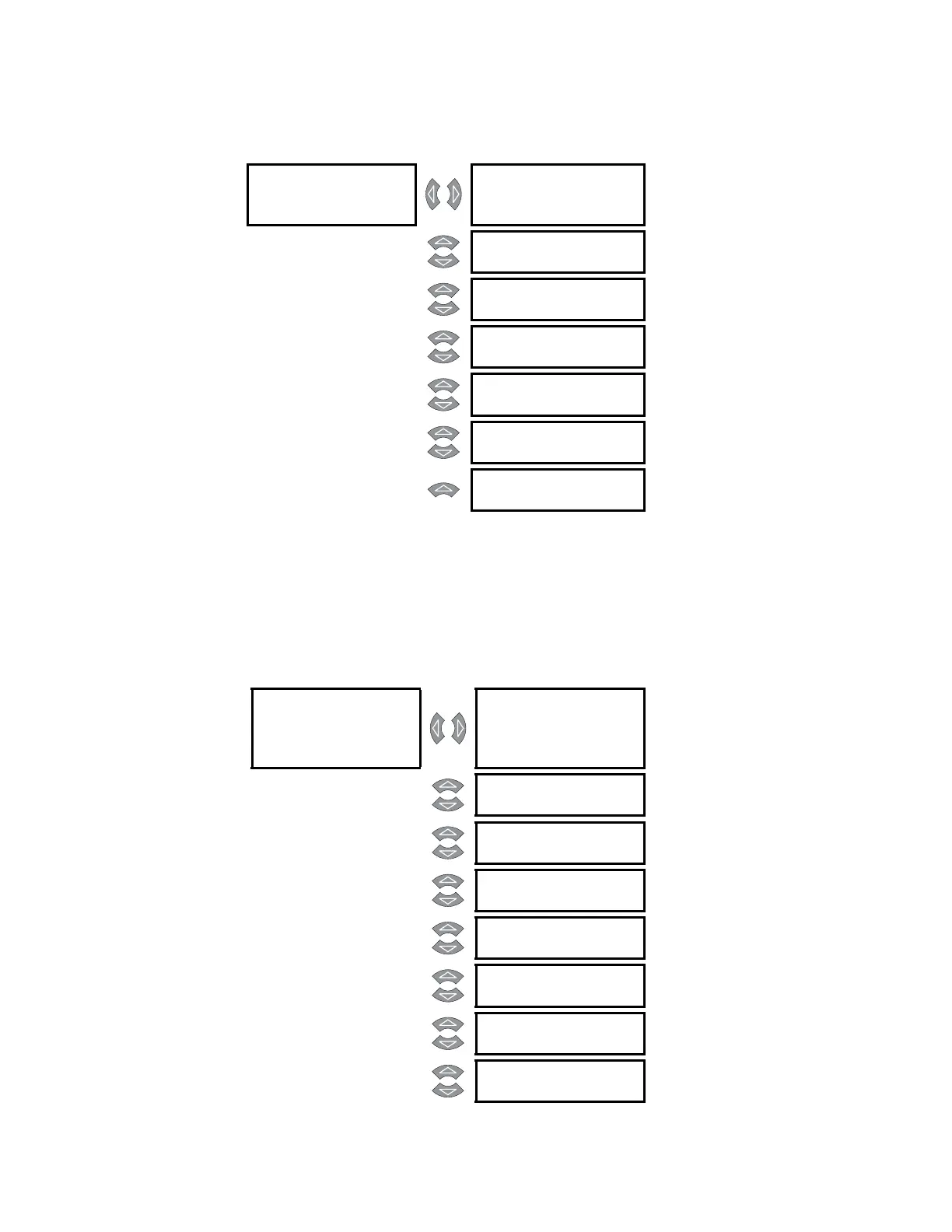
6.2.5 Start Blocks
PATH: ACTUAL VALUES Z A1 STATUS ZV START BLOCKS
Any active blocking functions may be viewed here. The WARNING 469 NOT PROGRAMMED
message is seen only if the Phase CT Primary or Motor FLA settings have not been
programmed.
6.2.6 Digital Inputs
PATH: ACTUAL VALUES Z A1 STATUS ZV DIGITAL INPUTS
START
BLOCKS [Z]
NO START BLOCKS
ACTIVE
Range: N/A. Message seen when no
start blocks are active
MESSAGE
OVERLOAD LOCKOUT
BLOCK: 25 min.
Note: Message seen only after an
overload trip
MESSAGE
START INHIBIT
BLOCK
Range: 0 to 500 min.
MESSAGE
STARTS/HOUR BLOCK
LOCKOUT TIME: 20
Range: 0 to 60 min.
MESSAGE
TIME BETWEEN
STARTS
Range: 0 to 500 min.
MESSAGE
RESTART BLOCK
LOCKOUT: 1200 s
Range: 0 to 50000 sec.
MESSAGE
WARNING
469 NOT PROGRAMMED
Note: Seen only if Phase CT Primary
or Motor FLA not programmed
DIGITAL [
Z]
INPUTS
ACCESS
SWITCH STATE:
Open
Range: Open, Shorted
MESSAGE
TEST
SWITCH STATE:
Range: Open, Shorted
MESSAGE
STARTER STATUS
SWITCH STATE:
Range: Open, Shorted
MESSAGE
EMERGENCY RESTART
SWITCH STATE:
Range: Open, Shorted
MESSAGE
REMOTE RESET
SWITCH STATE:
Range: Open, Shorted
MESSAGE
ASSIGNABLE DIGI-
TAL
Range: Open, Shorted
MESSAGE
ASSIGNABLE DIGI-
TAL
Range: Open, Shorted
MESSAGE
ASSIGNABLE DIGI-
TAL
Range: Open, Shorted

Table of Contents