EasyManua.ls Logo

GE Multilin 469 - 5.3.5 Reduced Voltage

GE Multilin 469
338 pages
Print Icon
To Next Page IconTo Next Page
To Next Page IconTo Next Page
To Previous Page IconTo Previous Page
To Previous Page IconTo Previous Page
Loading...
CHAPTER 5: SETTINGS
469 MOTOR MANAGEMENT RELAY – INSTRUCTION MANUAL 5–21
5.3.5 Reduced Voltage
PATH: SETTINGS ZV S2 SYSTEM SETUP ZV REDUCED VOLTAGE STARTING
The 469 can control the transition of a reduced voltage starter from reduced to full voltage.
That transition may be based on “Current Only”, “Current and Timer, or “Current or Timer
(whichever comes first). When the 469 measures the transition of no motor current to
some value of motor current, a 'Start' is assumed to be occurring (typically current will rise
quickly to a value in excess of FLA, e.g. 3 × FLA). At this point, the
REDUCED VOLTAGE START
TIMER is initialized with the programmed value in seconds.
If “Current Only” is selected, when the motor current falls below the user's
programmed Transition Level, transition will be initiated by activating the assigned
output relay for 1 second. If the timer expires before that transition is initiated, an
Incomplete Sequence Trip will occur activating the assigned trip relay(s).
If “Current or Timer” is selected, when the motor current falls below the user's
programmed Transition Level, transition will be initiated by activating the assigned
output relay for 1 second. If the timer expires before that transition is initiated, the
transition will be initiated regardless.
If “Current and Timer” is selected, when the motor current falls below the user's
programmed Transition Level and the timer expires, transition will be initiated by
activating the assigned output relay for 1 second. If the timer expires before current
falls below the Transition Level, an Incomplete Sequence Trip will occur activating the
assigned trip relay(s).
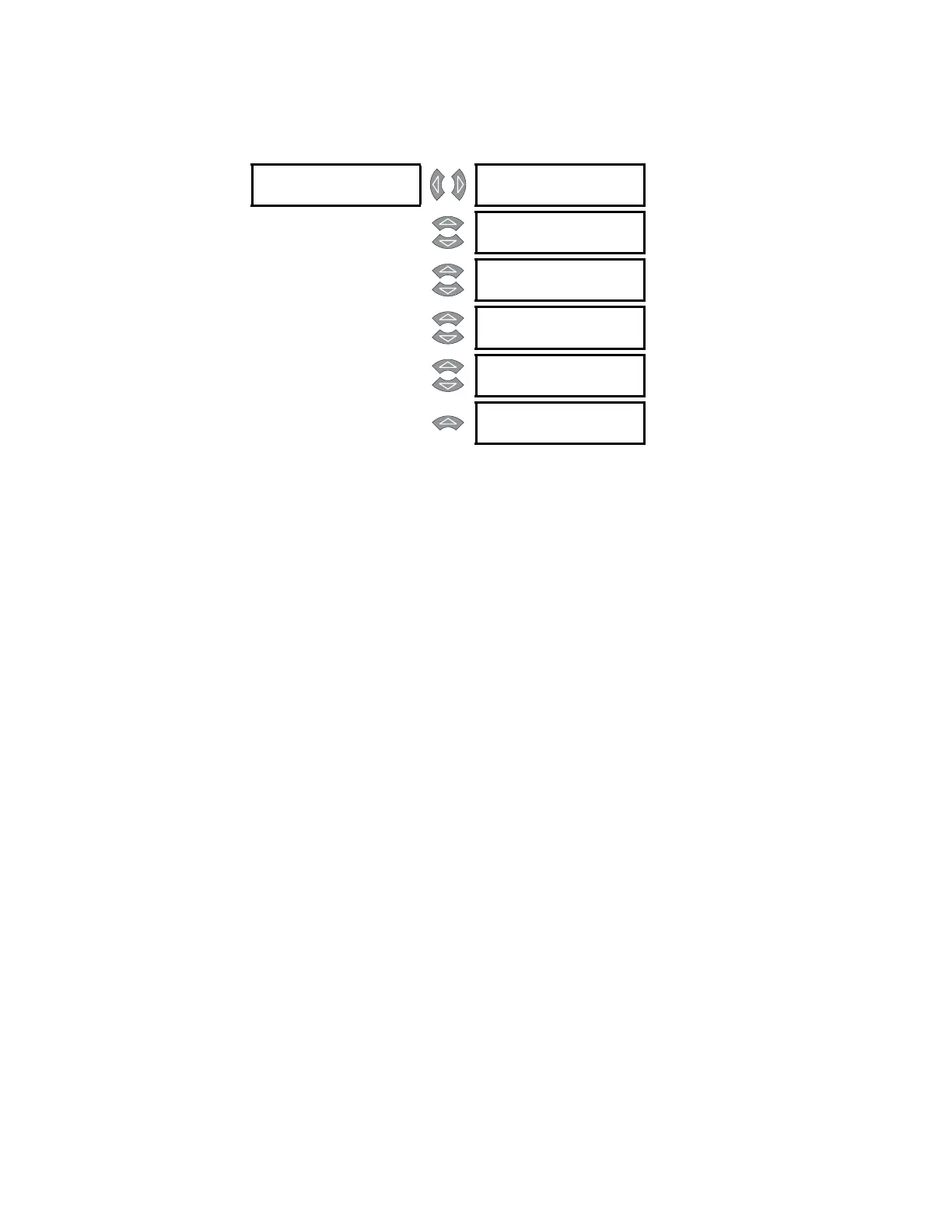
REDUCED [
REDUCED VOLTAGE
STARTING: Off
Range: On, Off
MESSAGE
ASSIGN CONTROL
RELAYS:
Range: Auxilary2, Aux2 & Aux3,
Auxiliary3
MESSAGE
TRANSITION ON:
Current Only
Range: Current Only, Current or Timer,
Current and Timer
MESSAGE
ASSIGN TRIP
RELAYS:
Range: Trip, Trip & Aux2, Trip & Aux2 &
Aux3, Trip & Aux3
MESSAGE
REDUCED VOLTAGE
START LEVEL: 100%
Range: 25 to 300% in steps of 1
MESSAGE
REDUCED VOLTAGE
START TIMER: 200
Range: 1 to 600 s in steps of 1

Table of Contents