EasyManua.ls Logo

GE GNSV70FBL - Mounting System Installation

GE GNSV70FBL
20 pages
Print Icon
To Next Page IconTo Next Page
To Next Page IconTo Next Page
To Previous Page IconTo Previous Page
To Previous Page IconTo Previous Page
Loading...
10
Installation Instructions.
Mounting System Installation
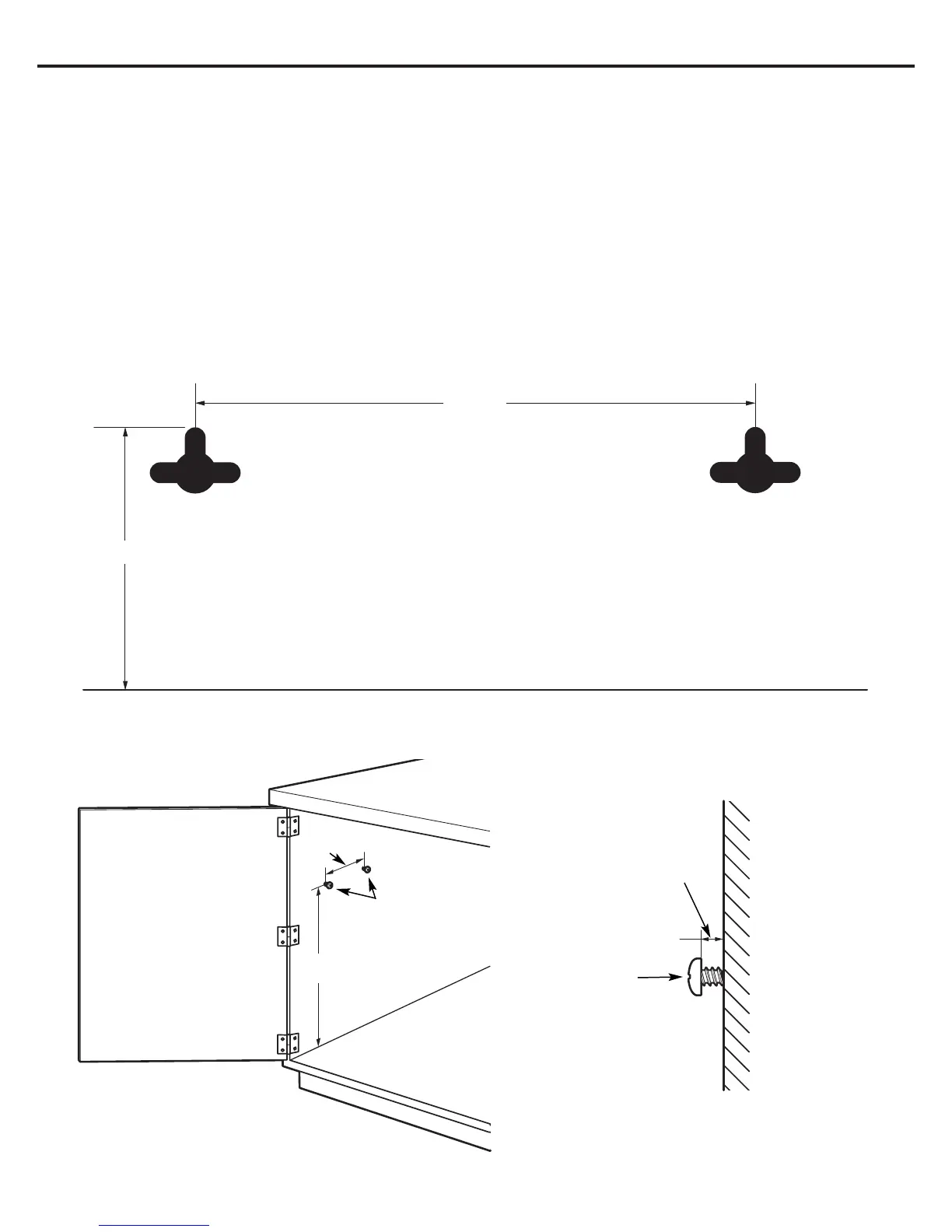
Pick a location under the sink to mount the system. Location should be easily accessible, with clearance between the bottom of the filter
canisters and the floor or bottom of the cabinet; any less will result in difficulty of removing filter canisters (see Fig. 7). Allow enough
space on either side of the system for the tubing connections.
SCREW INSTALLATION
1. Remove this template from the manual for easier installation.
2. The top of the template openings should be placed a minimum of 17 inches above the bottom of the cabinet or floor where the
system is to be mounted (Fig. 6 and 7).
NOTE: Any distance lower may result in filter canisters interfering with the floor when removed.
3. Tape template to wall, then mark the wall where the screws are to be installed.
Install screws into the wall, leaving 3/16 inch clearance between the head of the screw and wall (drill pilot holes if needed) (Fig. 8).
17 inches
5 inches
Bottom of Cabinet or Floor
Template for screw hole pattern on back of filtration system
Fig. 6
17 inches
5 inches
Screws
Screw
3/16 inch
Fig. 8
Fig. 7
Wall

Related product manuals