EasyManua.ls Logo

GE JGB735 - Oven Controls, Modes, and Features

GE JGB735
36 pages
Print Icon
To Next Page IconTo Next Page
To Next Page IconTo Next Page
To Previous Page IconTo Previous Page
To Previous Page IconTo Previous Page
Loading...
12 49-2000782 Rev. 3
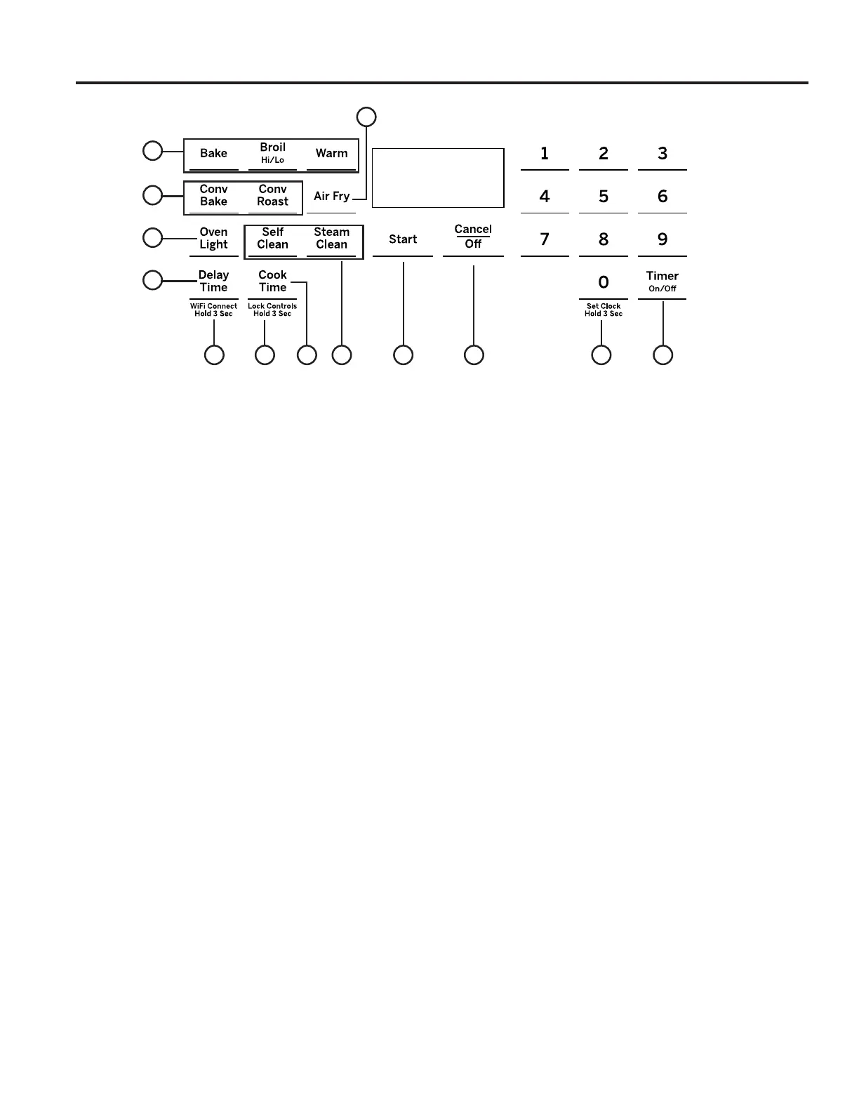
Oven Controls
1. Traditional Cooking Modes: Your oven
has the following traditional cooking modes: Bake,
Broil and Warm. See the Oven Cooking Modes
section for more information.
2. Convection Cooking Modes (on some
models): Convection cooking mode uses
increased air circulation to improve performance.
See the Oven Cooking Modes section for more
information.
3. Clean: Your oven has two cleaning modes: Self
Clean and Steam Clean. See the Cleaning the Oven
section for important information about using these
modes.
4. Start: Must be pressed to start any cooking,
cleaning, or timed function.
NOTE: If your display and keys dim, opening
the oven door or pressing any key will wake and
illuminate the control.
5. Cancel/Off: Cancels ALL oven operations
except the clock and timer.
6. Timer: Worksasacountdowntimer.Pressthe
Timer pad and use the number pads to program
thetimeinhoursandminutes.PresstheStart pad.
The oven will continue to operate when the timer
countdown is complete. To turn the timer off, press
the Timer pad.
7. Cook TIme: Counts down cooking time
and turns off the oven when the cooking time is
complete.Selectadesiredcookingmode.Use
the number pads to program a baking temperature.
PresstheCook Time pad and use the number pads
to program a cooking time in hours and minutes.
Then press Start. This can only be used with Bake,
Convection Bake, Convection Roast, Warm, and
Air Fry.
8. Delay Time: Delays when the oven will turn
on.Usethistosetatimewhenyouwanttheoven
tostart.Selectadesiredcookingmode.Usethe
number pad to program a baking temperature.
PresstheDelay Time pad.Usethenumberpadsto
program the time of day for the oven to turn on, and
then press Start.
NOTE: When using the Delay Time feature, foods
that spoil easily – such as milk, eggs, fish, stuffing,
poultry, and pork – should not be allowed to sit for
morethan1hourbeforeoraftercooking.Room
temperature promotes the growth of harmful
bacteria. Be sure that the oven light is off because
heat from the bulb will speed harmful bacteria
growth.
9. WiFi Connect (on some models):
Allows you to control your oven remotely. For
instructions on how to connect your oven, see the
WiFi Connect section in this manual.
10. Lock Controls: Locks out the control so that
pressing the pads does not activate the controls.
PressandholdtheLock Controls pad, for three
seconds to lock or unlock the control. Cancel/Off is
always active, even when the control is locked.
11. Oven Light: Turns the oven light on or off.
12. Air Fry (on some models): The Air Fry
mode is designed to produce foods with a crispier
exterior than traditional oven cooking. See the Oven
Cooking Modes section for more information.
13. Set Clock: Settheovenclocktime.Pressthe
Set Clockpad.Usethenumberpadstoprogram
theclock.PressStart to save the time.
USING THE RANGE: Oven Controls
9
1
2
11
8
10
12
13
637 4 5

Related product manuals