EasyManua.ls Logo

GE STD16C - Page 36

GE STD16C
44 pages
Print Icon
To Next Page IconTo Next Page
To Next Page IconTo Next Page
To Previous Page IconTo Previous Page
To Previous Page IconTo Previous Page
Loading...
GEK-
45307
T&
*=
-IORT
FINGER
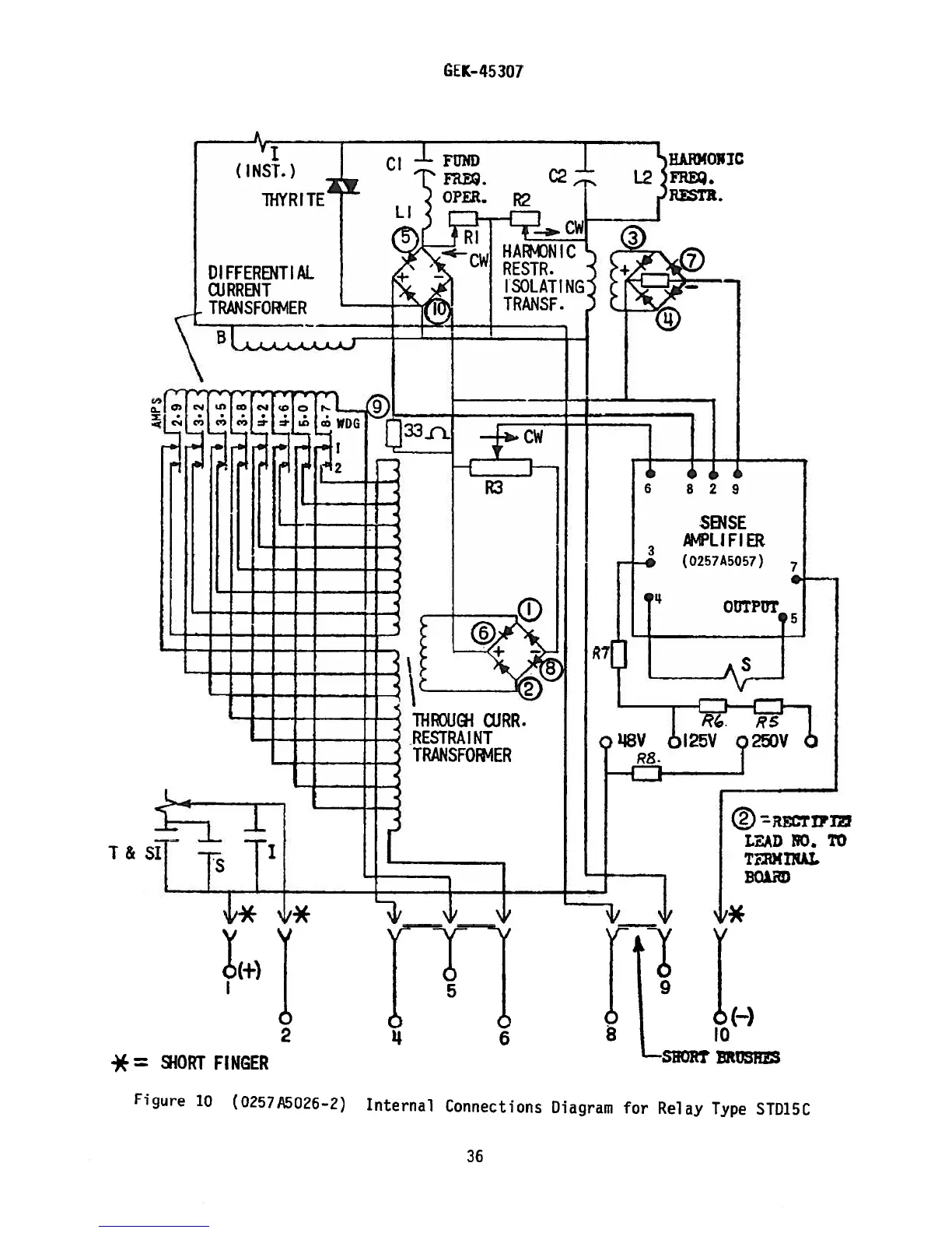
Figure
10
(02571\5026-2)
Internal
Connections
Diagram
for
Relay
Type
STD1SC
THYRITE
HARI4OflC
DIFFERENTIAL
OJRRENT
TRANSFORIER
RTR.
SENSE
AMPLIFIER
(o257A5o57)
THROUG-!
OJRR.
RESTRAINT
TRANSFOR4ER
ECT!7i
LEAD
NO.
TO
TXTNAI
BOi
6
36

Related product manuals