EasyManua.ls Logo

GE STD16C - Page 40

GE STD16C
44 pages
Print Icon
To Next Page IconTo Next Page
To Next Page IconTo Next Page
To Previous Page IconTo Previous Page
To Previous Page IconTo Previous Page
Loading...
115
VOLTS
RATED
GEK—45
307
B.
TEST
CIRCUIT
FOR
STDI6C
RELAYS
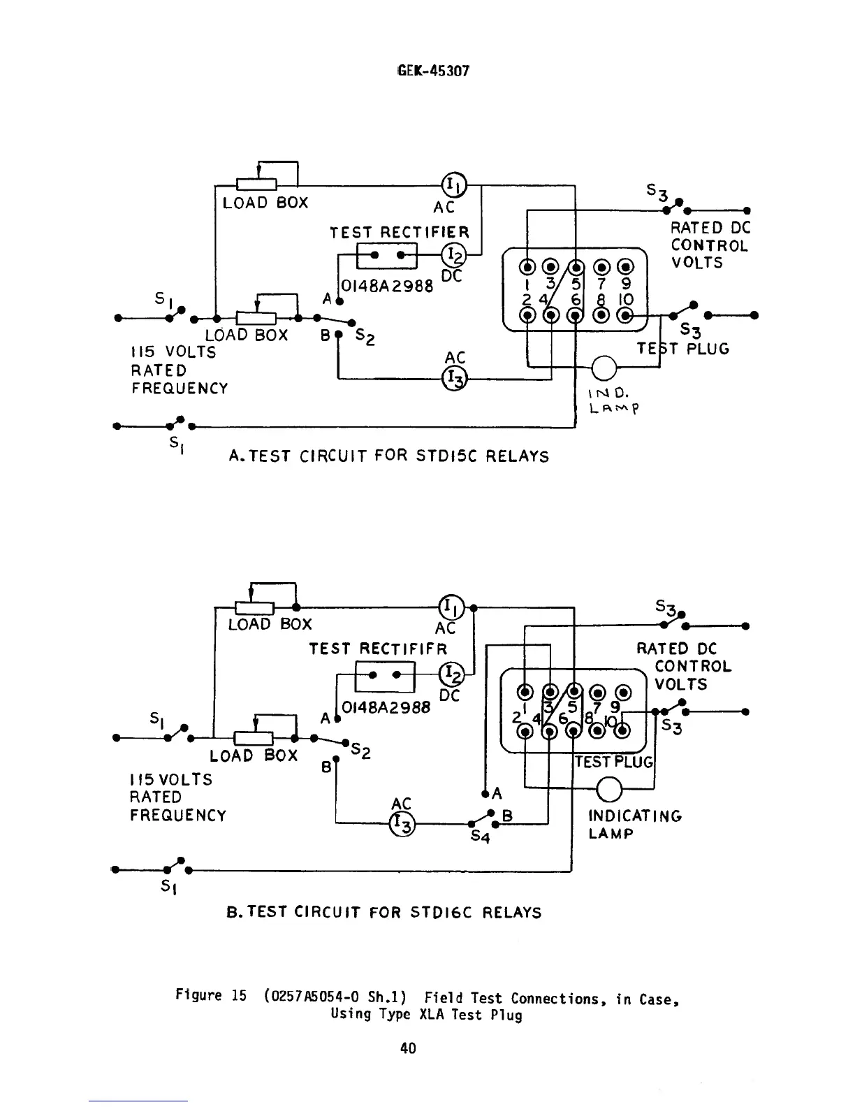
Figure
15
(0257J5O54-o
Sh.1)
Field
Test
Connections,
in
Case,
Using
Type
XLA
Test
Plug
FREQUENCY
S
A.TE5T
CIRCUIT
FOR
STDI5C
RELAYS
AC
I
___
TEST
RECTIFIFR
I
[I
AL
DC
0148A2988
115
VOLTS
RATED
FREQUENCY
-LJ
LOAD
BOX
RATED
DC
:
CO
N
T
R
CL
VOLTS
.
2
LOAD
OX
INDICATING
AC
S4
LAMP
i
40

Related product manuals