EasyManua.ls Logo

GEL DECAL - Page 148

Default Icon
Print Icon
To Next Page IconTo Next Page
To Next Page IconTo Next Page
To Previous Page IconTo Previous Page
To Previous Page IconTo Previous Page
Loading...
148
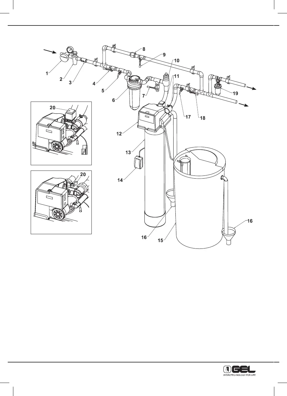
9.2 - INSTALARE MODEL DECAL CORP DUBLU
1) Contor
2) Reductor presiune (numai daca e necesar)
3) Clapeta retinere
4) Robinet inchidere in amonte
5) Robinet prelevare mostra apa bruta
6) Filtru deznisipator
7) Derivatie apa filtrata pentru alte utilizari
8) Racord olandez
9) Robinet by-pass
10) Aerisitor (numai pentru Decal 250/B-320/B-
500/B)
11) Conducte flexibile sau racorduri antivibrante
12) Cap dedurizator
13) Butelie dedurizator
14) Priza de curent 230V-50/60Hz
15) Rezervor sare
16) Golire
17) Robinet prelevare mostra apa dedurizata
18) Robinet inchidere in aval
19) Dozator anticalcar (pentru protectia cazanului)
20) Vana de amestec
Vana automata de amestec
Intrare
apa
Vana manuala de amestec
La cazan
La instalatie
Nota: La modelele BIG (200-250-320-500) intrarea si iesirea sunt inversate

Table of Contents

Related product manuals