EasyManua.ls Logo

geminox THR 10-100 Series - Page 40

geminox THR 10-100 Series
92 pages
Print Icon
To Next Page IconTo Next Page
To Next Page IconTo Next Page
To Previous Page IconTo Previous Page
To Previous Page IconTo Previous Page
Loading...

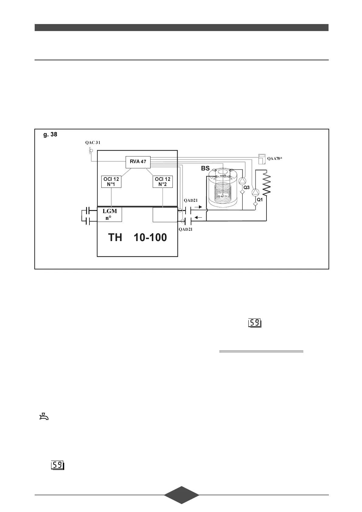
%$6,&6(77,1*2)7+(7+5 
'20(67,&+27:$7(5352'8&7,21%<7+(/2$'38039,$7+(59$
For the THR 10-100 C model:
- Domestic hot water production is carried out with
a load pump directly connected to the network.
This makes it possible to reach a maximum heat-
ing power of 100 kW for domestic hot water. Do-
mestic hot water production is controlled
according to the temperature of the domestic hot
water tank and to the RVA 47 series B time pro-
gramme.
 +\GUDXOLFFRQQHFWLRQ
%HQHILWV
- Domestic hot water production by a load pump,
- available domestic hot water heating power :
100 KW,
- it is possible to choose the domestic hot water pri-
ority (absolute, shifting etc.),
standard setting: shifting priority
- time programme on the RVA 47.
'UDZEUDFNV
- high temperature network,
- heat carriage problem.
2SHUDWLRQDQGVHWWLQJ
The domestic hot water load pump operates as
soon as there is a domestic hot water request and
stops operating as soon as the request disappears.
The d.h.w. request must be communicated with the
button (d.h.w.) of the RVA 47.
- With no QAA 70 room sensor on the RVA 47 reg-
ulator:
the d.h.w. temperature setting is set in line 13
of the RVA 47,
the actual d.h.w. temperature is read out in line
of the RVA 47.
- With a QAA 70 room sensor on the RVA 47:
the d.h.w. temperature setting is set:
. either in line 13 of the RVA 47,
. or in line 3 of QAA 70 of the RVA 47.
the actual d.h.w. temperature is read out:
. either in line on the RVA 47,
. or in line 13 of QAA 70 on the RVA 47.
the Summer/Winter potentiometer of each
LGM must be in the Winter position.
During a
d.h.w. request, the LGMs are in the heating op-
erating mode (7 on the display of the control
panel):
. the d.h.w. setting potentiometers of each
LGM are inactive,
. the d.h.w. time programme of the RVA 47 is
active.
4
4
%6
4$=
4$$
7+5
4$&
4$'
4$'
/*0
Q
/*0
Q
2&,
1
2&,
1
59$
)LJ

Related product manuals