EasyManua.ls Logo

German pool GPU Series - Page 13

German pool GPU Series
16 pages
Print Icon
To Next Page IconTo Next Page
To Next Page IconTo Next Page
To Previous Page IconTo Previous Page
To Previous Page IconTo Previous Page
Loading...
P.13
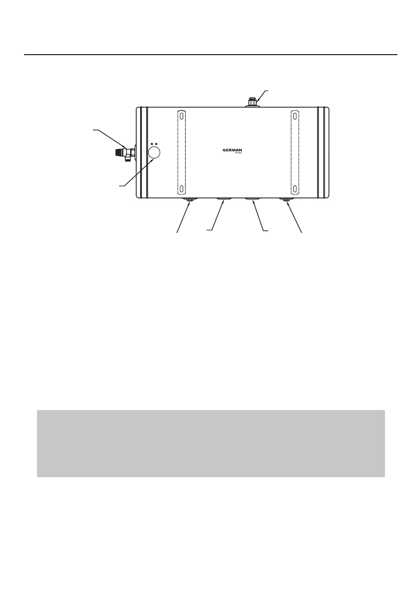
產品結構 Product Structure
使用外碼時注意:確定爐的安裝位置後,請先用螺絲將外碼固定在牆上,再將爐後蓋上
的方孔對準固定在牆上的外碼,向下將爐穩靠地固定掛在牆上。
Caution: After conrmation of installation location, properly secure the mounting bracket
with screws on the wall, align the holes of the back plate of the water heater with the
mounting bracket, and downwardly hang the water heater.
防倒流裝置
出水位 ()
入水位 ()
溫度調節/超溫斷路器
排水管
超溫及超壓排放閥
1
2
3
4
5
6
1
5
3
2
5
4
6
Anti Back Siphonage Device
Outlet (Hot)
Inlet (Cold)
Combined Thermostat / Cutout
Drain
Pressure & Temperature Relief Valve (PTV)
1
2
3
4
5
6
GPU-6.5SS-JS

Other manuals for German pool GPU Series