EasyManua.ls Logo

Gfp 455 TH - System Components

Gfp 455 TH
26 pages
Print Icon
To Next Page IconTo Next Page
To Next Page IconTo Next Page
To Previous Page IconTo Previous Page
To Previous Page IconTo Previous Page
Loading...
Gfp
400 Series
January 2011
7
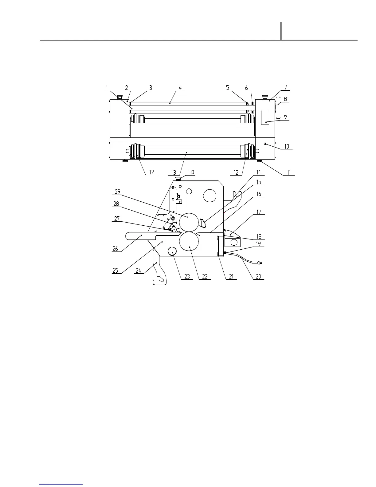
6. System Components
1.
Linkage Axle 16. Exit table
2. Left cabinet 17. Rear rewind assembly
3. Rewind tube axle 18. Main power switch
4. Backing paper rewind tube 19. Fuse
5. Rewind tube positioning sleeve 20. Power cord
6. Brake adjustment wheel 21. Real panel
7. Right cabinet 22. Bottom nip roller
8. Roller Gap adjustment hand-wheel 23. Support crossbar
9. Control panel 24. Bottom supply mandrel bracket
10. Foot pedal plug connection 25. Cross member
11. Leveling foot 26. In-feed table
12. Film Core adaptor/brake 27. Pressing roller
13. Bottom supply mandrel 28. Nip roller safety shield
14. Top supply mandrel bracket 29. Top heat roller
15. Temperature sensor 30. Emergency stop switch

Other manuals for Gfp 455 TH

Related product manuals