EasyManua.ls Logo

GGMgastro CAPRI - Page 7

Default Icon
18 pages
Print Icon
To Next Page IconTo Next Page
To Next Page IconTo Next Page
To Previous Page IconTo Previous Page
To Previous Page IconTo Previous Page
Loading...
6
6. GRID CONNECTION.
SAFETY MEASURES
6.1. The electric equipment meets the standing requirements for safety, set forth in
the technical regulations, adopted by Customs Union.
6.2. Supply voltage range should not deviate from minus 10% to plus 10% from its
nominal figure, provided in table 1 section 2 in this Manual. For permitted current
frequency swings refer to GOST 32144.
I m p o r t a n t: if power supply voltage swings exceed the allowed norms, it is
recommended to power the device with a voltage monitor or regulator. Failure to
follow these recommendations may result in a breakdown, not covered by warranty.
6.3. Device has a power cord with grounding contact, attached to the device through
Y-method.
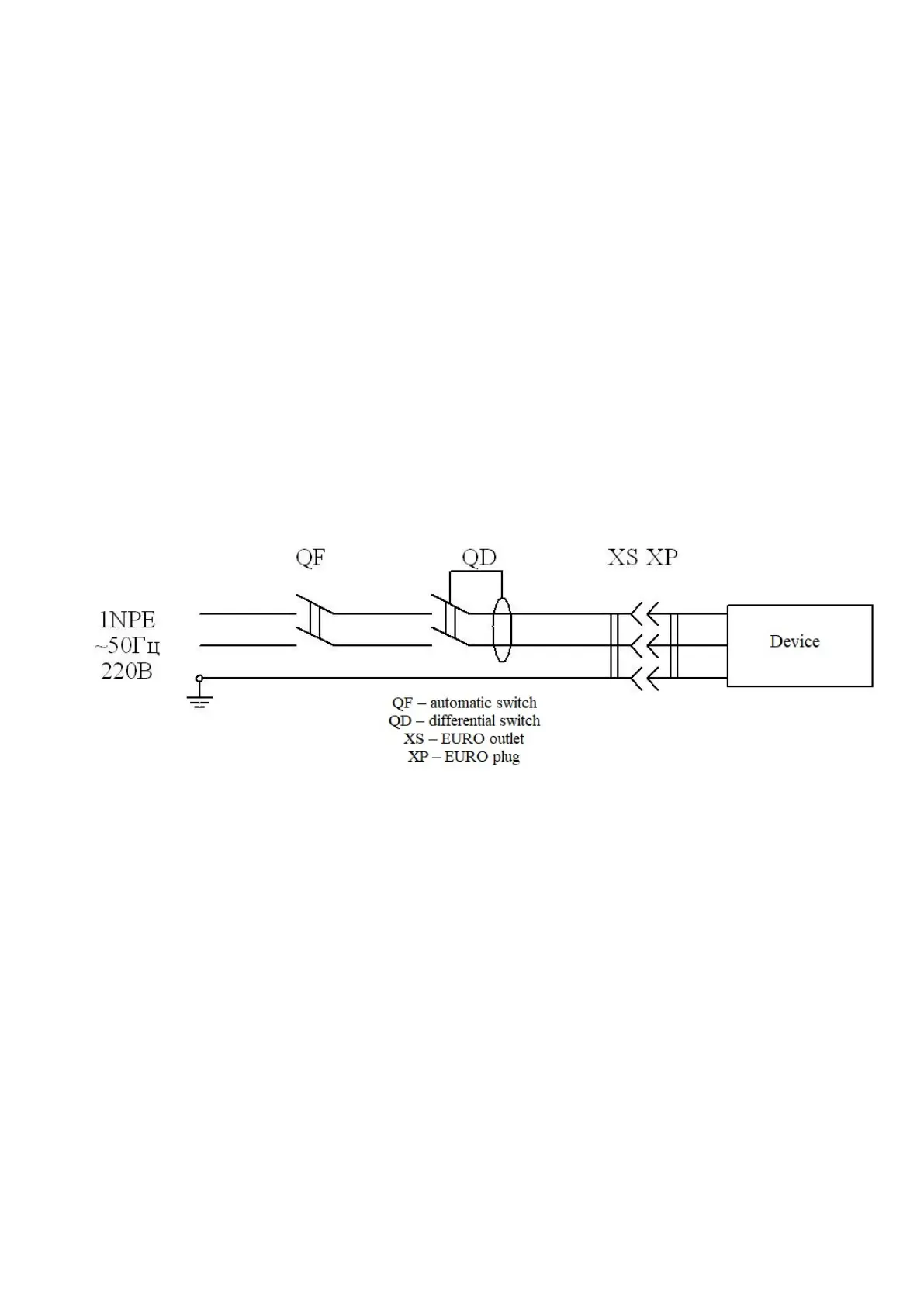
6.4. Connect the device to the power grid (pic. 1) via automatic electromagnetic
protection shutoff and differential switch (GFI). Choose the automatic shutoff with the
nearest trip setting value, the amperage for a differential trigger should be higher should
be higher than the amperage for automatic trigger, nominal shutting differential amperage
is 30mA
WARNING: CONNECT THE DEVICE TO THE OUTLETS WITH THE
GROUNDING CONTACTS, CONNECTED TO GRID GROUNDING CIRCUIT.
Pic. 1 Connection diagram.
DO NOT USE THE DEVICE WITH INCORRECT OR NO GROUNDING, WITH NO
AUTOMATIC SHUTOFF AND CIRCUIT BREAKER, FAULTY OR REMOVED
CONTROL EQUIPMENT, INSUFFICIENT WIRING INSULATION, OPENED OR
REMOVED SHIELDING, OR HAS THE DETAILS WITH SHARP EDGES OR DAMAGED
DETAILS. DO NOT CONNECT THE DEVICE VIA EXTENSION CORD.
WARNING! AFTER TURNING THE POWER OFF, WAIT FOR 5 MINUTES
BEFORE POWERING THE DEVICE AGAIN.
7. OPERATION AND MAINTENANCE MANUAL
7. 1. Following the operating rules and requirements set forth in this manual will
increase the life and safety of the device.
7. 2. After checking technical specifications and electrical safety of the device,
connect it to the power grid, following the rules above. Compressor with start in a few
seconds. After the temperature in the refrigerated enclosure has reached the set
parameter, the compressor will start working in cycles.