EasyManua.ls Logo

Gill GMX501 - Sensor Descriptions

Gill GMX501
144 pages
Print Icon
To Next Page IconTo Next Page
To Next Page IconTo Next Page
To Previous Page IconTo Previous Page
To Previous Page IconTo Previous Page
Loading...
Gill Instruments Ltd
_____________________________________________________________________________________________________________
__________________________________________________________________________________________________
MaxiMet Page 8 Issue 3
Doc. No. 1957-PS-021 May 2018
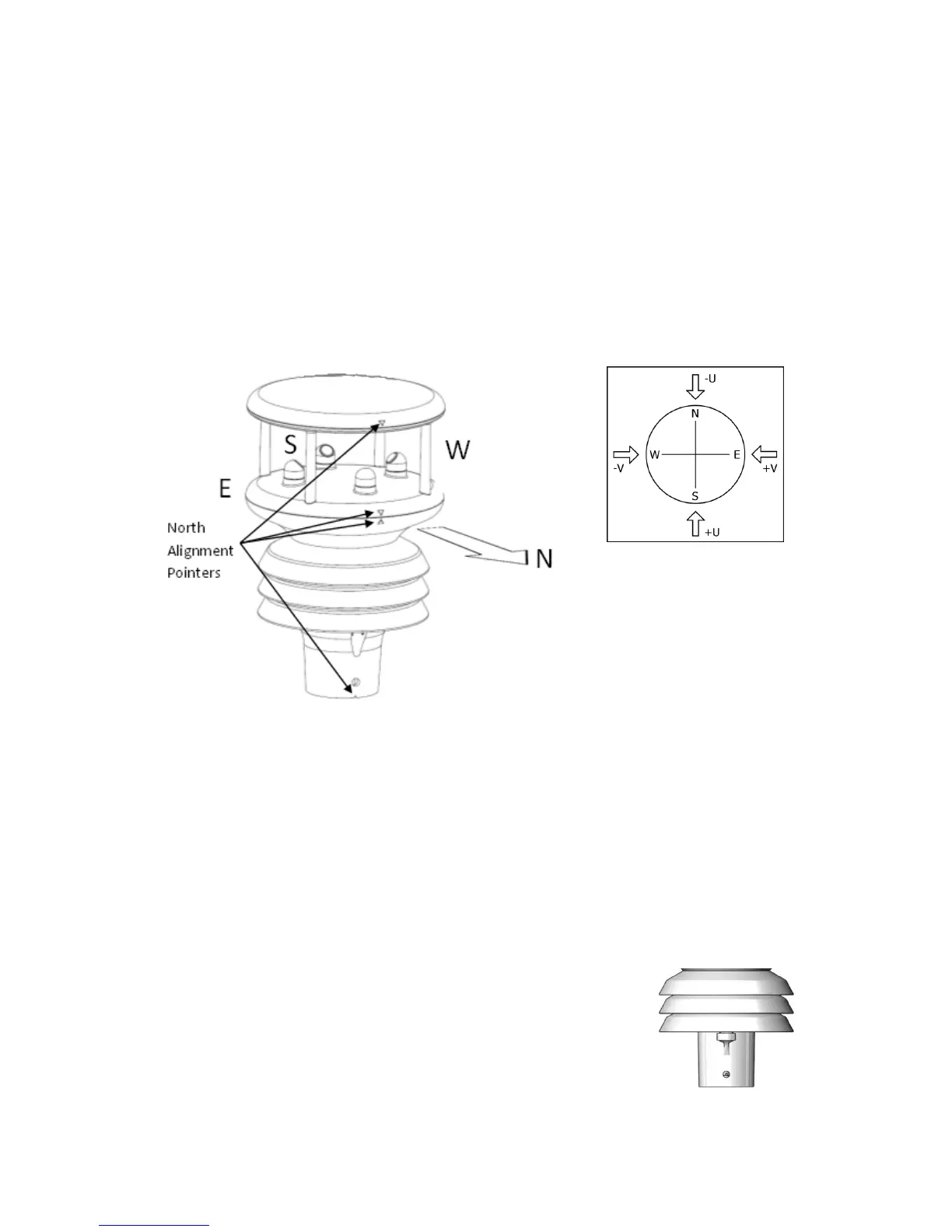
2.1.3 Wind Speed and Direction Sensor (GMX200, GMX240, GMX500, GMX501,
GMX531, GMX541, GMX550, GMX551 and GMX600)
The MaxiMet uses the Gill WindSonic wind speed and direction sensor. The WindSonic measures the times
taken for an ultrasonic pulse of sound to travel from the north (N) transducer to the south (S) transducer,
and compares it with the time for a pulse to travel from S to N transducer. Likewise times are compared
between west (W) and east (E), and E and W transducer.
If, for example, a north wind is blowing, then the time taken for the pulse to travel from N to S will be
faster than from S to N, whereas the W to E and E to W times will be the same. The wind speed and
direction can then be calculated from the differences in the times of flight on each axis. This calculation is
independent of factors such as temperature.
MaxiMet can output the following wind readings depending on use of a Compass or GPS:
Relative wind – wind speed and/or direction, uncorrected, but relative to the north marker, which
may not be facing north.
Corrected wind – with the aid of the Compass Magnetic North corrected wind direction can be
output.
True wind – wind speed and/or direction information corrected by GPS for any direction
misalignment of the north marker and/or for any motion of the station. (E.g. vehicle or vessel).
2.1.4 Solar Radiation Shield (GMX300, GMX301, GMX400, GMX500, GMX501,
GMX531, GMX541, GMX550, GMX551 and GMX600)
A MetSpec Multi-Plate Solar Radiation Shield is used. The special shield plate
geometry, with its double louvre design, provides excellent response time
performance of quick ambient temperature changes while still working effectively
as a baffle to stop larger contaminants such as salt or dirt from reaching the
temperature and humidity sensor. The shield benefits from very robust material
choice and extremely high UV protection requiring no maintenance.
Compass points
:
compass point and
polarity of U and V if the
wind components along
the U and V axis are
blowing in the direction
of the respective arrows.

Table of Contents

Related product manuals