EasyManua.ls Logo

GO2 RH1 - Installation instructions; Tools and facilities required; Minimum installation dimensions; Measuring the chassis height

GO2 RH1
Print Icon
To Next Page IconTo Next Page
To Next Page IconTo Next Page
To Previous Page IconTo Previous Page
To Previous Page IconTo Previous Page
Loading...
15
Maneuvering assistant RH1
Installation instructions
Read the installation instructions prior to starting work and
follow them carefully!
Please ensure that no metal chips or other contaminants get
into the controller during installation.
You can purchase the accessories described in the installation
instructions from your dealer.
Intended use
The maneuvering assistant has been built for use with single-
axis caravans with a gross weight of up to 1800 kg.
The maneuvering assistant weighs approx. 34 kg with the
cross actuation device attached.
Check the towing load of your vehicle and the gross weight of
your caravan in order to establish whether they are designed
for the additional weight.
Approval
The maneuvering assistant RH1 has design approval, and a
general operating permit (ABE) has been issued for Germany.
Acceptance by a vehicle expert is not required (except when
installing the low chassis kit). The ABE must be kept in the
vehicle.
The maneuvering assistant satisfies other requirements
stated in the EU directives and standards (see declaration of
conformity).
The technical and administrative regulations of the country in
which the vehicle is initially registered must be complied with
when the maneuvering assistant is being installed.
Any modifications to the unit, or the use of spare parts and ac-
cessories that are important to the operation of the system that
are not original parts and failure to follow the installation and
operating instructions will cancel the warranty and indemnify
from any liability claims. In addition to this, the operational ap-
proval for the device will be cancelled.
Tools and facilities required
To install the maneuvering assistant you will need:
13 mm, 17 mm, 10 mm socket wrench, ring spanner or
open-jawed spanner
Torque wrench (10 – 40 Nm)
Cable cutter / Crimping tool
Power drill / screwdrivers / 25 mm hole cutter
Portable 2 tonne trolley jack and axle stands to suit
Appropriate lighting
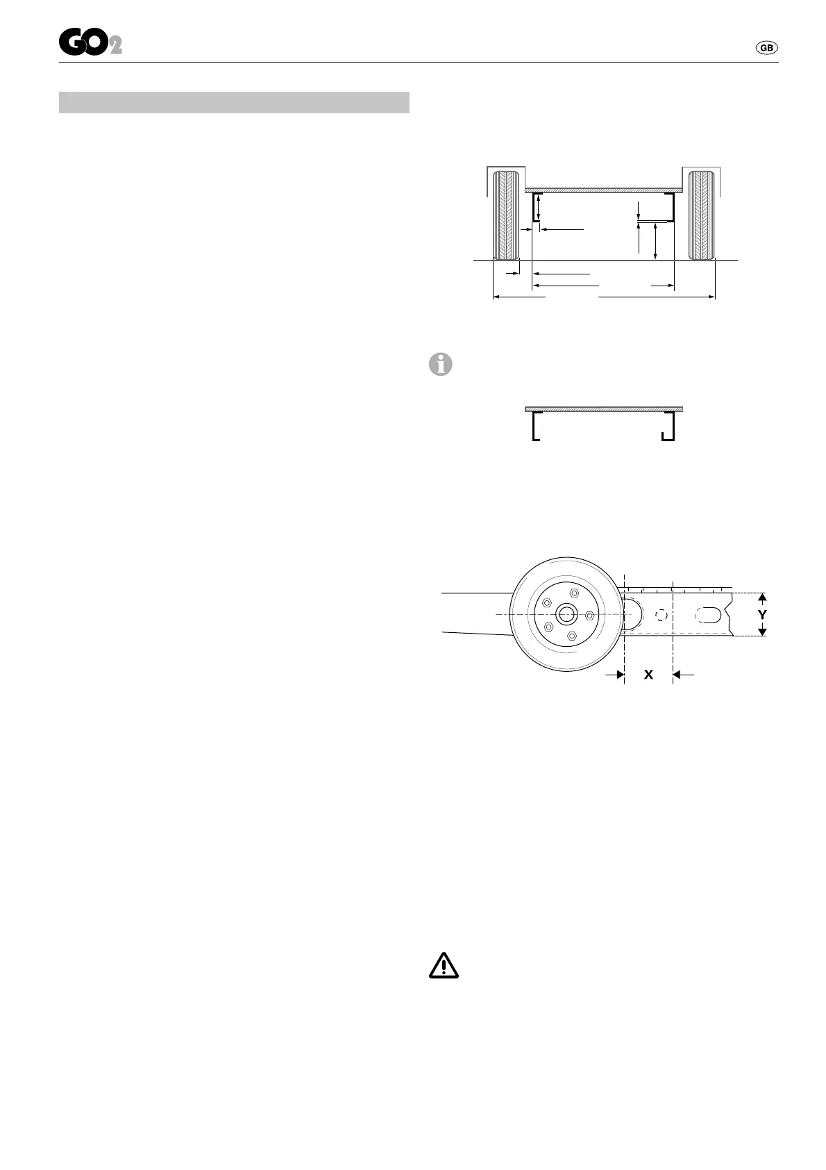
Minimum installation dimensions
The equipment can only be fitted to caravans / trailers within
the following dimensions.
min.
180*
max. 1860
max. 2400
min. 60
min. 30
max. 48
opt. 185
min. 2.8
max. 3.5
Caravan floor
all dimensions in mm
* with fully loaded vehicle
A distinction is made between L-profiled and U-profiled
chassis as shown in the illustration.
Caravan floor
L-profiile
U-profile
Measuring the chassis height
Frame height (Y) measured at distance of 106 mm (X) from the
outer edge of the tyre at height of hub / middle of tyre.
Determining the installation type
1. Standard installation
Standard installation is used with a U-profile or L-profile chas-
sis and a frame height (Y) of approx. 185 mm. No special
accessories are required.
2. Installation with chassis with U-profile or L-profile and
frame height of between 140 and 185 mm
With a chassis with a frame height (Y) of 140 mm to 185 mm,
1, 2 or 3 spacer plate sets and the screw set are needed to
compensate for the height.
3. Installation with chassis with U-profiles or L-profiles
with frame height of less than 140 mm
With a chassis with a frame height (Y) of less than 140 mm a
low chassis kit must be fitted to compensate for the height.
In Germany, the low chassis kit installation must be
accepted by a vehicle expert.
4. The AL-KO Vario III / AV installation kit must be used with
the AL-KO Vario III / AV chassis with a frame thickness of less
than 2.8 mm.
5. Installation with Eriba Touring chassis
The Eriba Touring mounting set is needed for the Eriba Touring
chassis.