EasyManua.ls Logo

GO2 RH1 - Inbouwhandleiding

GO2 RH1
Print Icon
To Next Page IconTo Next Page
To Next Page IconTo Next Page
To Previous Page IconTo Previous Page
To Previous Page IconTo Previous Page
Loading...
43
Rangeerhulp RH1
Inbouwhandleiding
Voor aanvang van de werkzaamheden inbouwhandleiding
zorgvuldig doorlezen en opvolgen!
Bij de montage moet u erop letten dat geen metaalspaanders
of andere verontreinigingen in de besturing terecht komen.
Toebehoren die in de inbouwhandleiding beschreven worden,
verkrijgt u bij uw dealer.
Toepassingsgebied
De rangeerhulp werd geconstrueerd voor gebruik op éénas-
sige caravans met een totaalgewicht tot 1800 kg.
De rangeerhulp weegt ca. 34 kg met gemonteerde
enkelzijbediening.
Controleer de aanhanglast van uw trekkende voertuig alsmede
het totale gewicht van uw caravan, om te controleren of deze
geschikt zijn voor het extra gewicht.
Toelating
De rangeerhulp RH1 is in het bezit van een typekeuring en een
Algemene Gebruiksvergunning voor Duitsland werd verstrekt.
Derhalve is een keuring door een erkende motorvoertuigexpert
niet nodig (behalve bij de montage van de set voor plat chas-
sis). De gebruiksvergunning moet in het voertuig aanwezig zijn.
De rangeerhulp voldoet aan de vereisten van de EU-richtlijnen
en normen (zie conformiteitsverklaring).
Bij de montage van de rangeerhulp dienen de technische en
administratieve voorschriften van het land waarin het voertuig
voor de eerste keer werd toegelaten, correct opgevolgd te
worden.
Iedere wijziging aan het apparaat of het gebruik van reserveon-
derdelen en voor het functioneren belangrijke accessoires die
geen originele onderdelen zijn, als ook het niet opvolgen van
de inbouw- en gebruikshandleiding leidt ertoe dat de garantie
vervalt en dat claims m.b.t. aansprakelijkheid zijn uitgesloten.
Bovendien vervalt de gebruiksvergunning van het apparaat.
Benodigd gereedschap en inrichtingen
Voor de montage van de rangeerhulp heeft u het volgende
nodig:
Steek- of ringsleutel 13 mm, 17 mm, 10 mm
Momentsleutel (10 – 40 Nm)
Kabelmes / Krimptang
Boormachine / schroevendraaier / gatzaag Ø 25 mm
Rangeerkrik 2 ton en passende onderzetbokken
Voldoende verlichting
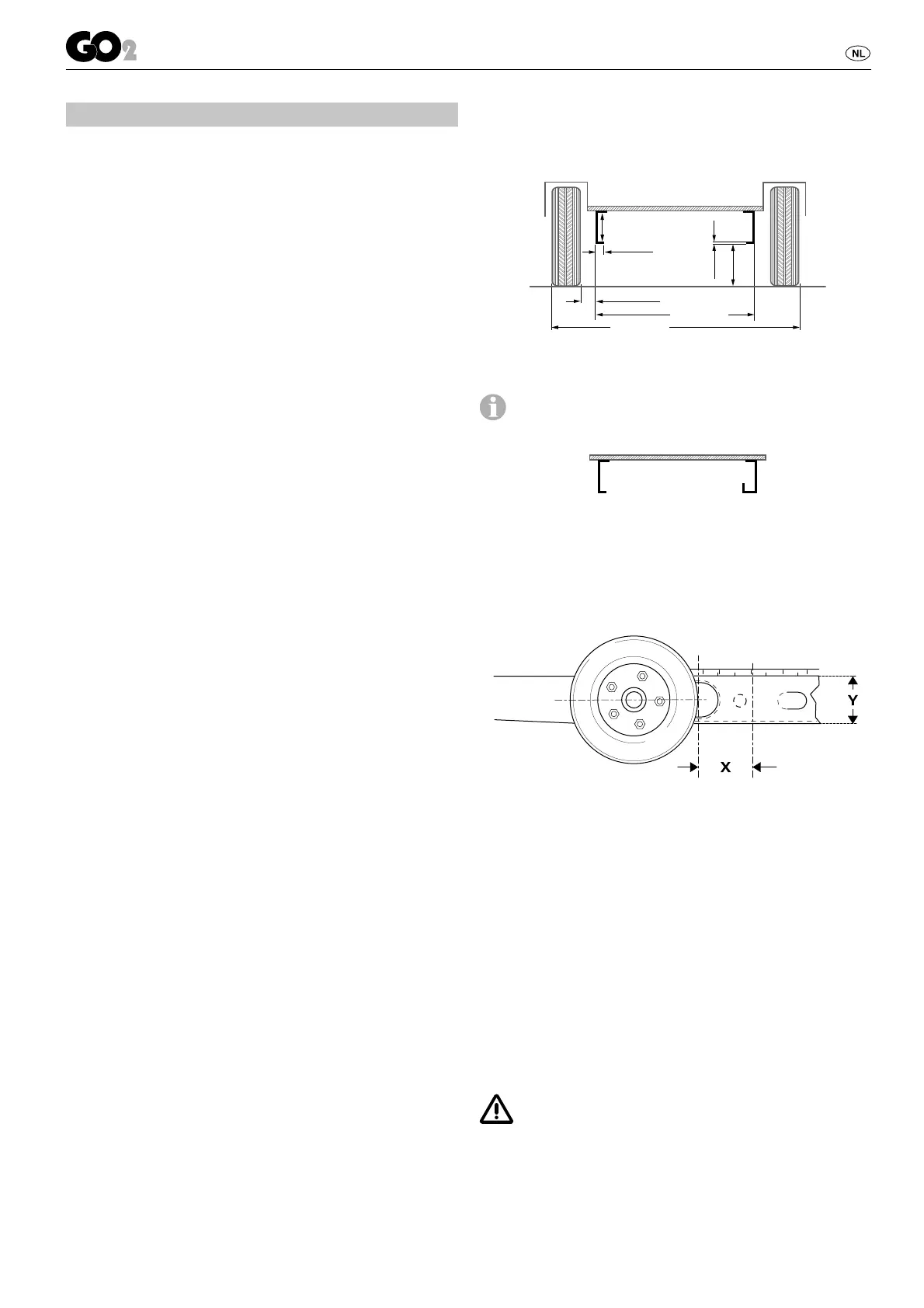
Minimumafmetingen voor de inbouw
Montage is alleen mogelijk op caravans / aanhangers die
voldoen aan de onderstaande afmetingen.
min.
180*
max. 1860
max. 2400
min. 60
min. 30
max. 48
opt. 185
min. 2,8
max. 3,5
Caravanbodem
alle maten in mm
* bij beladen voertuig
Zoals weergegeven in die afbeelding wordt bij het chassis
onderscheid gemaakt tussen L- of U-profiel.
Caravanbodem
L - profiel
U - profiel
Vaststelling van de chassishoogte
Chassishoogte (Y) gemeten op een afstand van 106 mm (X)
van de buitenkant van de band ter hoogte van bandnaaf /
bandmidden.
Vaststelling van de montagesituatie
1. Standaard montage
Bij een chassis met U- of L-profiel en een chassishoogte (Y)
van ca. 185 mm vindt de standaard montage plaats. Er zijn
geen speciaal onderdelen nodig.
2. Montage bij chassis met U- of L-profiel en chassishoog-
te tussen 140 mm en 185 mm
Bij een chassis met een chassishoogte (Y) van 140 mm tot
185 mm zijn ter compensatie van de hoogte 1, 2 of 3 sets
afstandsplaten en de schroevenset vereist.
3. Montage bij chassis met U- of L-profielen met een chas-
sishoogte van minder dan 140 mm
Bij een chassis met een chassishoogte (Y) van minder dan
140 mm moet ter compensatie van de hoogte een set voor
plat chassis worden gemonteerd.
Bij gebruik van de set voor plat chassis moet in Duits-
land een keuring door een erkend motorvoertuigex-
pert plaatsvinden.
4. Voor het chassis AL-KO Vario III / AV met een chassisdikte
van minder dan 2,8 mm moet als versteviging absoluut de
AL-KO Vario III / AV montageset gebruikt worden.
5. Montage bij chassis Eriba-Touring
Voor het chassis Eriba-Touring is de aanbouwset Eriba-Touring
absoluut noodzakelijk.