EasyManua.ls Logo

golmar EL610D

golmar EL610D
60 pages
To Next Page IconTo Next Page
To Next Page IconTo Next Page
To Previous Page IconTo Previous Page
To Previous Page IconTo Previous Page
Loading...
31
INSTALLATION OF THE DOOR PANEL
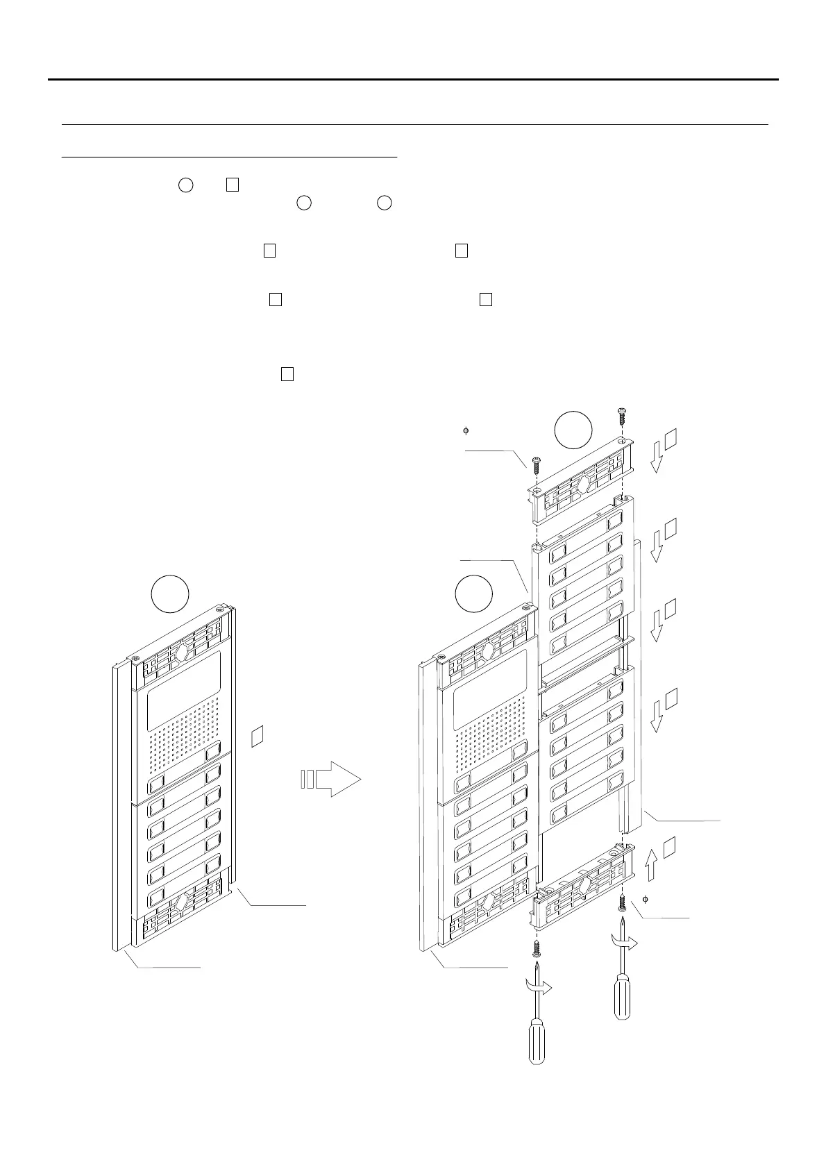
Mounting the modules of a double door panel:
To finish, insert the final clip-on cover between the door panel UNE rod and the second side profile (from the top) and
fix it using the screws specified (step 6 ).
Insert a clip-on cover between the door panel UNE rod and the second side profile (from the bottom) and fix it
using the screws specified (step 2 ), then insert the module (step 3 ). If the door panel has more than one module,
insert the lower module first.
Insert the module separator (step 4 ) and then the next module (step 5 ). Repeat this process on door panels with
more than one module (the maximum number of modules that can be linked vertically is three).
Mount door panel A (step 1 ) as described in 'Mounting the modules of a door panel' (see page ), taking into
account that the bar connecting panel A and panel B must be a door panel UNE rod, see drawing below.
30
Side profile
A
Door panel
UNE rod
A
B
5
1
2
4
3
6
Door panel
UNE rod
Side profile
Side profile
IMPORTANT: Once the adjustments are completed, stick the adhesive joint (enclosed with the N60XX CMPL end
piece set) to the door panel UNE rod.
2,9 x 13
DIN-7981
2,9 x 13
DIN-7981
NEXA MODULAR G2+ AUDIO AND VIDEO DOOR ENTRY SYSTEM - BUILDING

Table of Contents

Other manuals for golmar EL610D

Related product manuals