EasyManua.ls Logo

Goodman *MSS9* - Return Air Openings and Filter Requirements

Goodman *MSS9*
48 pages
Print Icon
To Next Page IconTo Next Page
To Next Page IconTo Next Page
To Previous Page IconTo Previous Page
To Previous Page IconTo Previous Page
Loading...
30
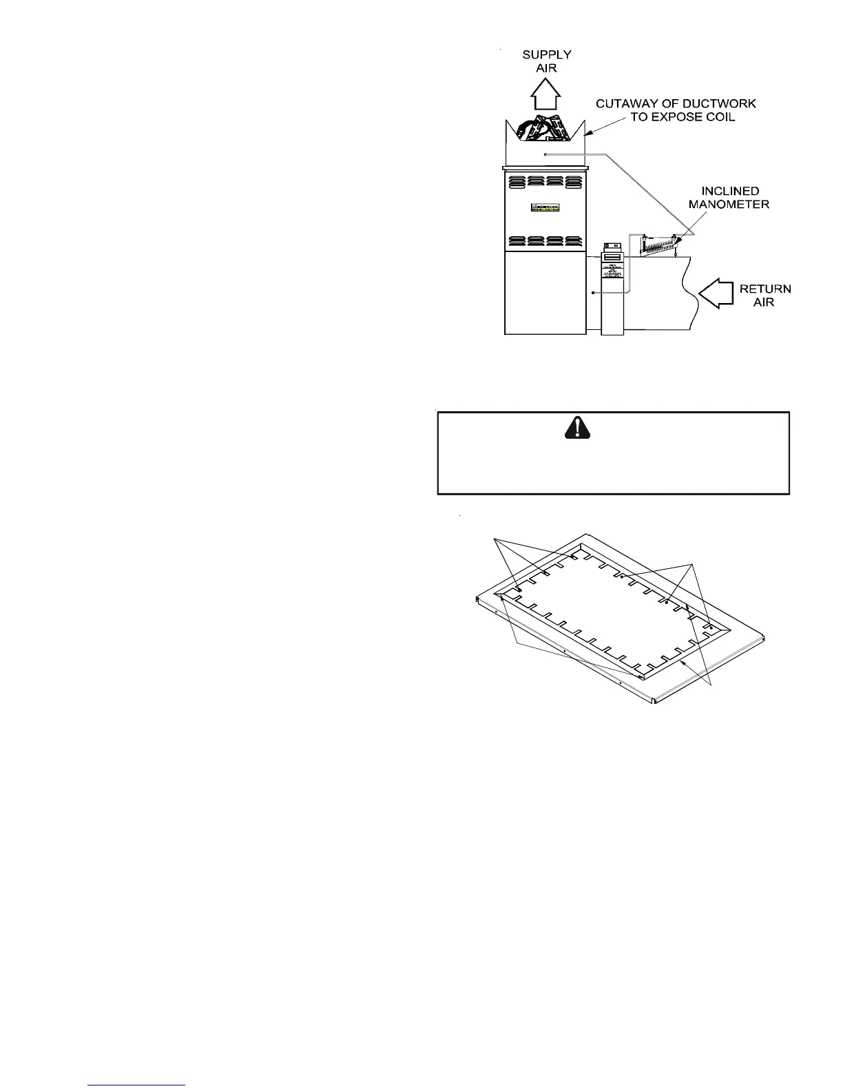
Example:
static reading from return duct = -.1" w.c.
static reading from supply duct = .3" w.c.
total external static pressure on this system = .4" w.c.
NOTE: Both readings may be taken simultaneously and read directly on
the manometer if so desired. If an air conditioner coil or Electronic Air
Cleaner is used in conjunction with the furnace, the readings must also
include theses components, as shown in the following drawing.
4. Consult proper tables for the quantity of air.
If the total external static pressure exceeds the maximum listed on the
furnace rating plate, check for closed dampers, registers, undersized
and/or oversized poorly laid out duct work.
The temperature rise of the furnace must be within the temperature rise
range listed on the furnace rating plate.
BOTTOM RETURN AIR OPENING [UPFLOW MODELS]
The bottom return air opening on upflow models utilizes a “lance
and cut” method to remove sheet metal from the duct opening in
the base pan. To remove, simply press out the lanced sections by
hand to expose the metal strips retaining the sheet metal over the
duct opening. Using tin snips, cut the metal strips and remove the
sheet metal covering the duct opening. In the corners of the
opening, cut the sheet metal along the scribe lines to free the duct
flanges. Using the scribe line along the duct flange as a guide, unfold
the duct flanges around the perimeter of the opening using a pair of
seamer pliers or seamer tongs. NOTE: Airflow area will be reduced by
approximately 18% if duct flanges are not unfolded. This could cause
performance issues and noise issues.
When the furnace is used in connection with a cooling unit, the fur-
nace should be installed in parallel with or on the upstream side of the
cooling unit to avoid condensation in the heating element. With a
parallel flow arrangement, the dampers or other means used to control
the flow of air must be adequate to prevent chilled air from entering
the furnace and, if manually operated, must be equipped with means
to prevent operation of either unit unless the damper is in the full heat
or cool position.
When the furnace is installed without a cooling coil, it is recommended that a removable access panel be provided in the outlet air
duct. This opening shall be accessible when the furnace is installed and shall be of such a size that the heat exchanger can be viewed
for visual light inspection or such that a sampling probe can be inserted into the airstream. The access panel must be made to
prevent air leaks when the furnace is in operation.
When the furnace is heating, the temperature of the return air entering the furnace must be between 55°F and 100°F.
FILTERS - READ THIS SECTION BEFORE INSTALLING THE RETURN AIR DUCT WORK
Filters must be used with this furnace. Discuss filter maintenance with the building owner. Filters do not ship with this furnace, but
must be provided, sized and installed externally by the installer. Filters must comply with UL900 or CAN/ULCS111 standards. If the
furnace is installed without filters, the warranty will be voided.
On upflow units, guide dimples locate the side return cutout locations. Use a straight edge to scribe lines connecting the dimples. Cut
out the opening on these lines. NOTE: An undersized opening will cause reduced airflow.
Refer to the Filter Sizing Chart to determine filter area requirements.
Checking Static Pressure
(80% Furnace Shown, 90% Similar)
Figure 34
CUT FOUR CORNERS
AFTER REMOVING SHEET
METAL
CUT USING TIN SNIPS
PRESS OUT BY HAND
SCRIBE LINES OUTLINING
DUCT FLANGES
Duct Flange Cut Outs
Figure 35
E
DGES
OF
SHEET
METAL
HOLES
MAY
BE
SHARP
. U
SE
GLOVES
AS
A
PRECAUTION
WHEN
REMOVING
SHEET
METAL
FROM
RETURN
AIR
OPENINGS
.
WARNING

Table of Contents

Related product manuals