EasyManua.ls Logo

Goodmans MICRO1104HDAB - Clock;Timer Operation; Using the Timer; Using the Sleep Timer

Goodmans MICRO1104HDAB
15 pages
Print Icon
To Next Page IconTo Next Page
To Next Page IconTo Next Page
To Previous Page IconTo Previous Page
To Previous Page IconTo Previous Page
Loading...
HELPLINE PHONE NUMBER 0870 873 0080
- 12 -
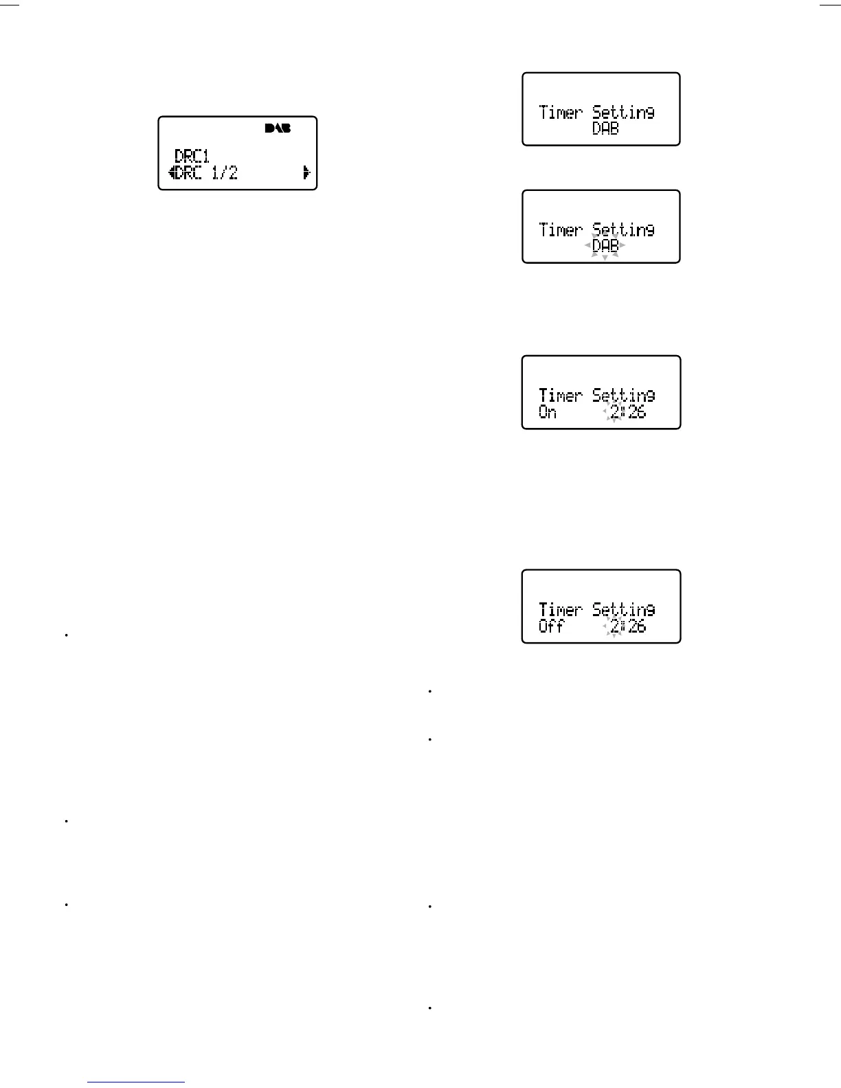
When you select this option you see the current DRC
value on the top line of the display and a scroll list on the
bottom. Press the SCROLL button to scroll through the
following options and press the select button to select
one:
DRC 0 DRC scaling is switched off.
DRC 1/2 DRC scaling is set to 1/2 that sent with the
transmitted service.
DRC 1 Applies the DRC scaling as sent with the
transmitted service. This is the default setting.
Resetting your DAB
A reset option is provided to enable you to reset your
unit. This removes all presets, stored stations and
favourite station settings and resets all options to
defaults. Performing an autotune process will solve most
problems but you may want to use this option if you move
house or want to restore default values to options you
have changed.
To select the reset option:
1. Press and hold the MENU button for more than two
seconds. The display will show “Press SELECT to
confirm Reset”.
2. Press the SELECT button to confirm the reset or
press no buttons for around seven seconds to
cancel the reset.
CLOCK/TIMER OPERATION
USING THE TIMER
There are two timers available- daily timer, sleep timer.
Before using the timers, you need to set the built-in
clock.
Using Daily Timer
You can set the Daily Timer when the unit is either turned
on or in standby mode.
With the daily timer, you can wake to your favorite music
or radio program.
How the daily timer actually works
When the on-time comes, the unit automatically turns on
and then the off-time comes, the unit automatically turns
off (standby).
Once the timer has been set, it will be activated at the
same time everyday until the timer is turned off and
the timer setting remains in memory until you change
it.
Timer setting
There is a time limit in doing the following steps. If
the setting is canceled before you finish, start from
step 1 again.
1. Press and hold TIMER until “Timer Setting DAB ”
appears on the display.
2. Press PROGRAM to enter the source selection
mode.
3. Press SCROLL SEARCH - or SCROLL SEARCH +
to select the desired source ( DAB, CD), then press
PROGRAM to confirm .
The hour indication of on-time starts flashing on the
display.
4. Press SCROLL SEARCH - or SCROLL SEARCH +
to set the on-time you want the unit to turn on.
Press SCROLL SEARCH - or SCROLL SEARCH +
to set the hour, then press PROGRAM to confirm.
Press SCROLL SEARCH - or SCROLL SEARCH +
to set the minute, then press PROGRAM to
confirm. The hour indication starts of off-time
flashing on the display.
5. Press SCROLL SEARCH - or SCROLL SEARCH +
to set the off-time you want the unit to turn off.
1) Press SCROLL SEARCH - or SCROLL SEARCH
+ to set the hour, then press PROGRAM to
confirm.
2) Press SCROLL SEARCH - or SCROLL SEARCH
+ to set the minute, then press PROGRAM to
confirm.
6. Press TIMER to activate the daily timer mode.
7. Press STANDBY/ON to turn off the unit if the unit is
on.
To deactivate the timer temporarily, press TIMER until
“TIMER” indicator goes off.
To activate and change the timer, repeat steps 1 to 6.
Note:
When you unplug the AC power cord or if a power
failure occurs, the timer will be canceled. You need to
set the clock first, and set the timer again.
USING THE SLEEP TIMER
With the sleep timer, you can fall asleep to your favorite
music or radio program.
You can set the sleep timer only when the unit is
turned on.